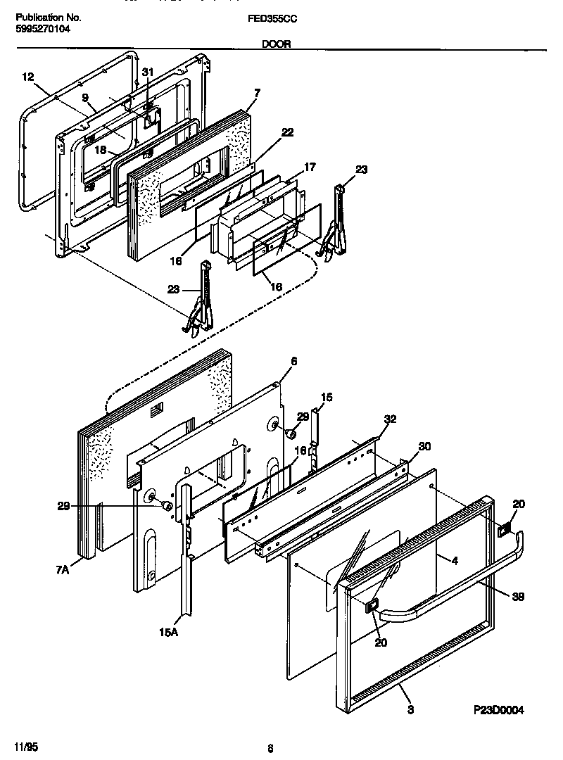
| *33242 | WCI 5303311156 |
| 3 | WCI 5303311179 |
| 4 | WCI 5303311180 |
| 6 | WCI 5303311149 |
| 7 | WCI 5303310532 |
| 7 | WCI 5303311150 |
| 9 | WCI 5303311151 |
| 12 | 318053103 Frigidaire Oven Door Seal Gasket |
| 15 | WCI 5303311154 |
| 15 | WCI 5303311153 |
| 16 | GLASS-OVEN DOOR, HEAT BARRIER |
| 17 | WCI 5303310534 |
| 18 | SEAL-ROPE |
| 20 | WCI 5303310504 |
| 22 | WCI 5303310511 |
| 23 | WCI 5303310828 |
| 29 | WCI 5303310535 |
| 30 | WCI 318014000 |
| 31 | WCI 5303311155 |
| 32 | WCI 5303310509 |
| 39 | HANDLE-DOOR, BLACK, OVEN |