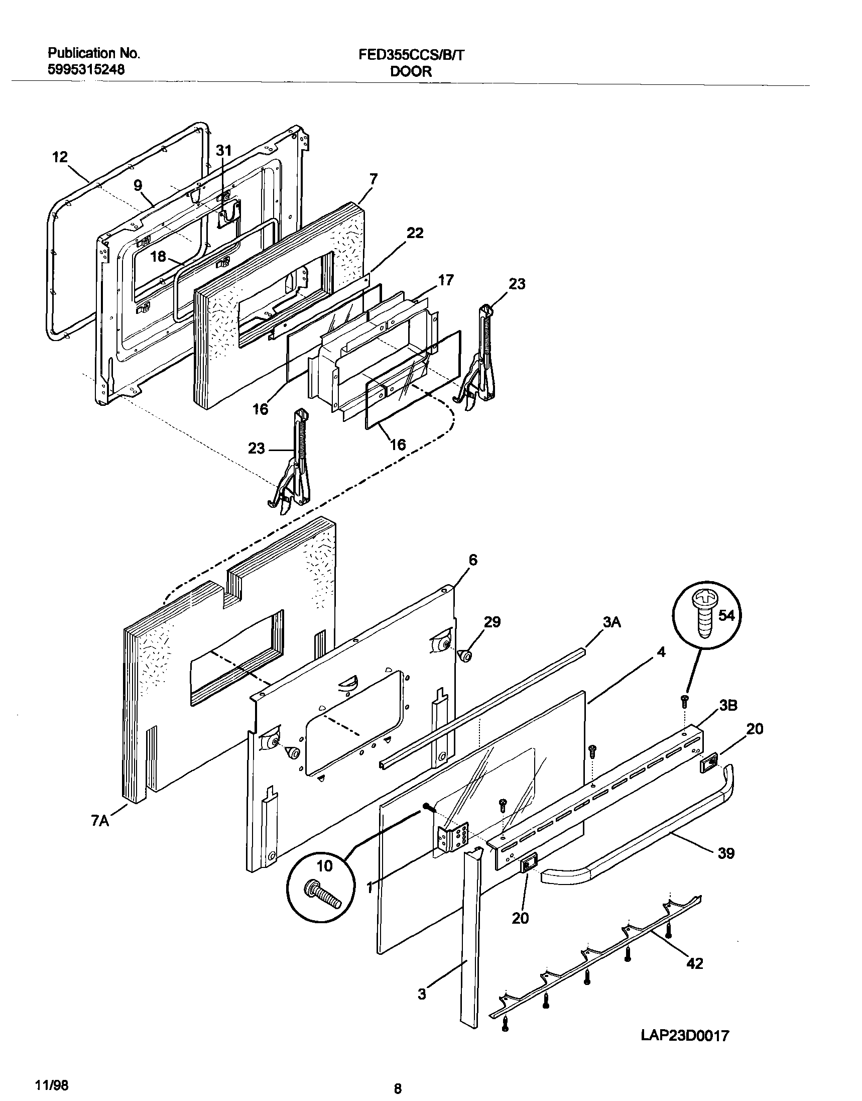
FED355CCSF 09 – DOOR