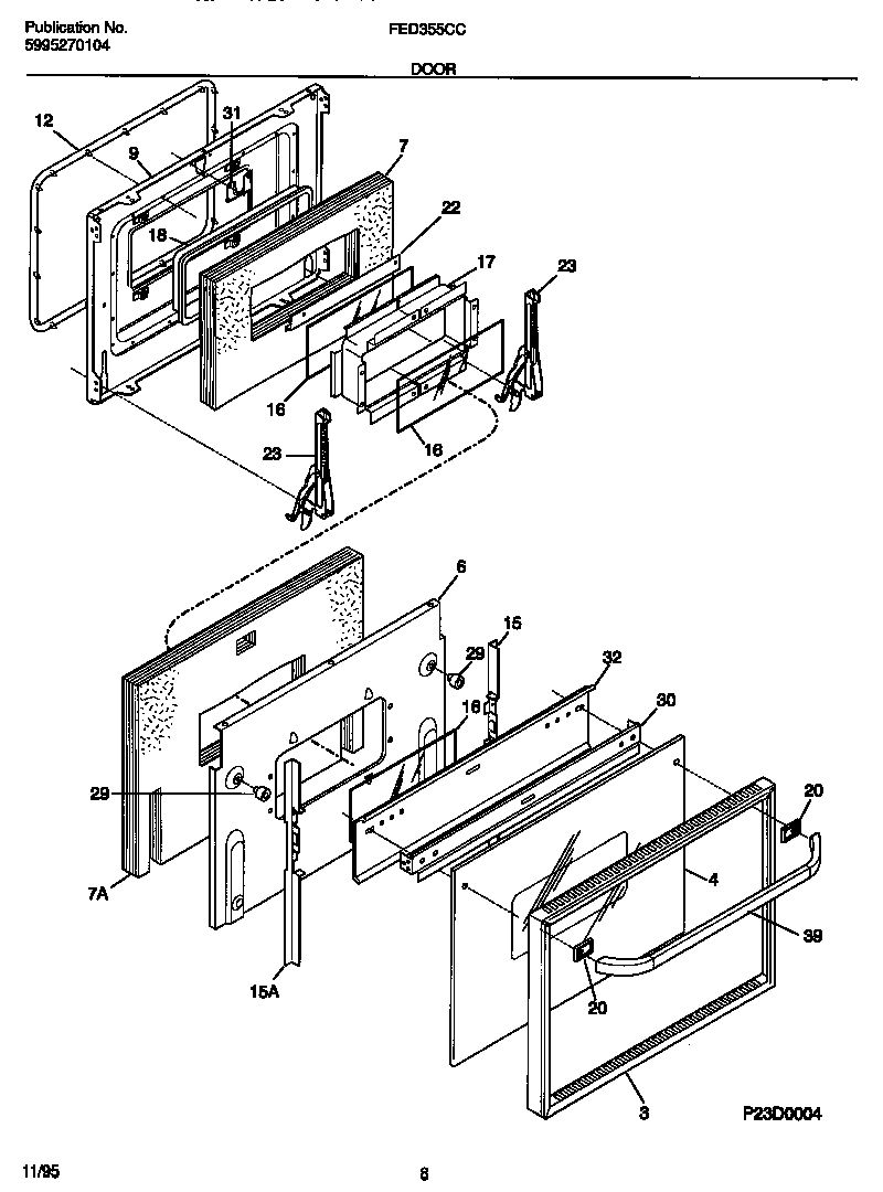
FED355CCTA 05 – DOOR