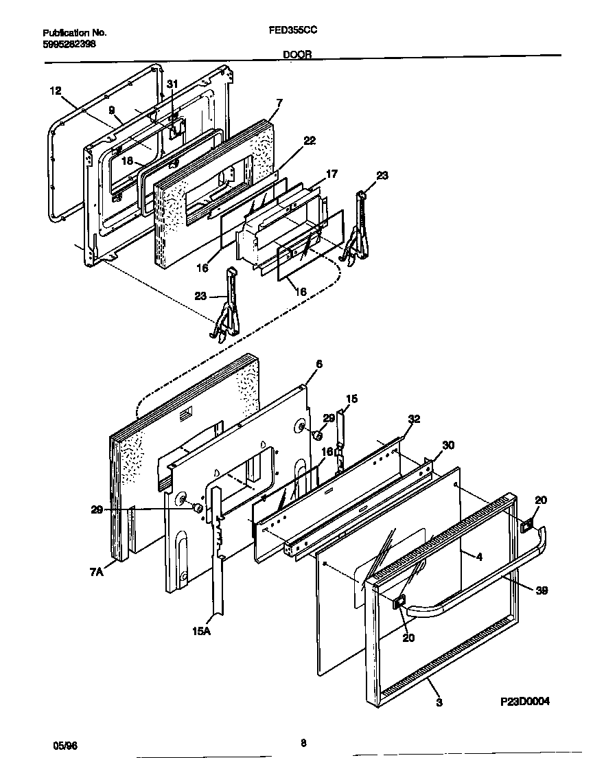
FED355CCTE 05 – DOOR