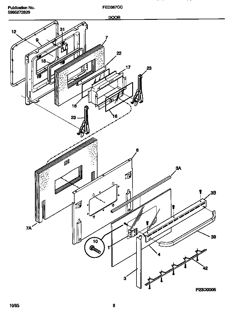
FED367CCBA 05 – DOOR