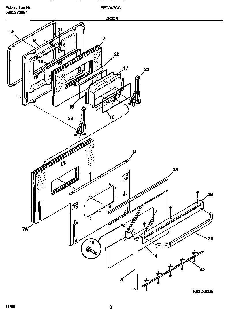
FED367CCTC 05 – DOOR