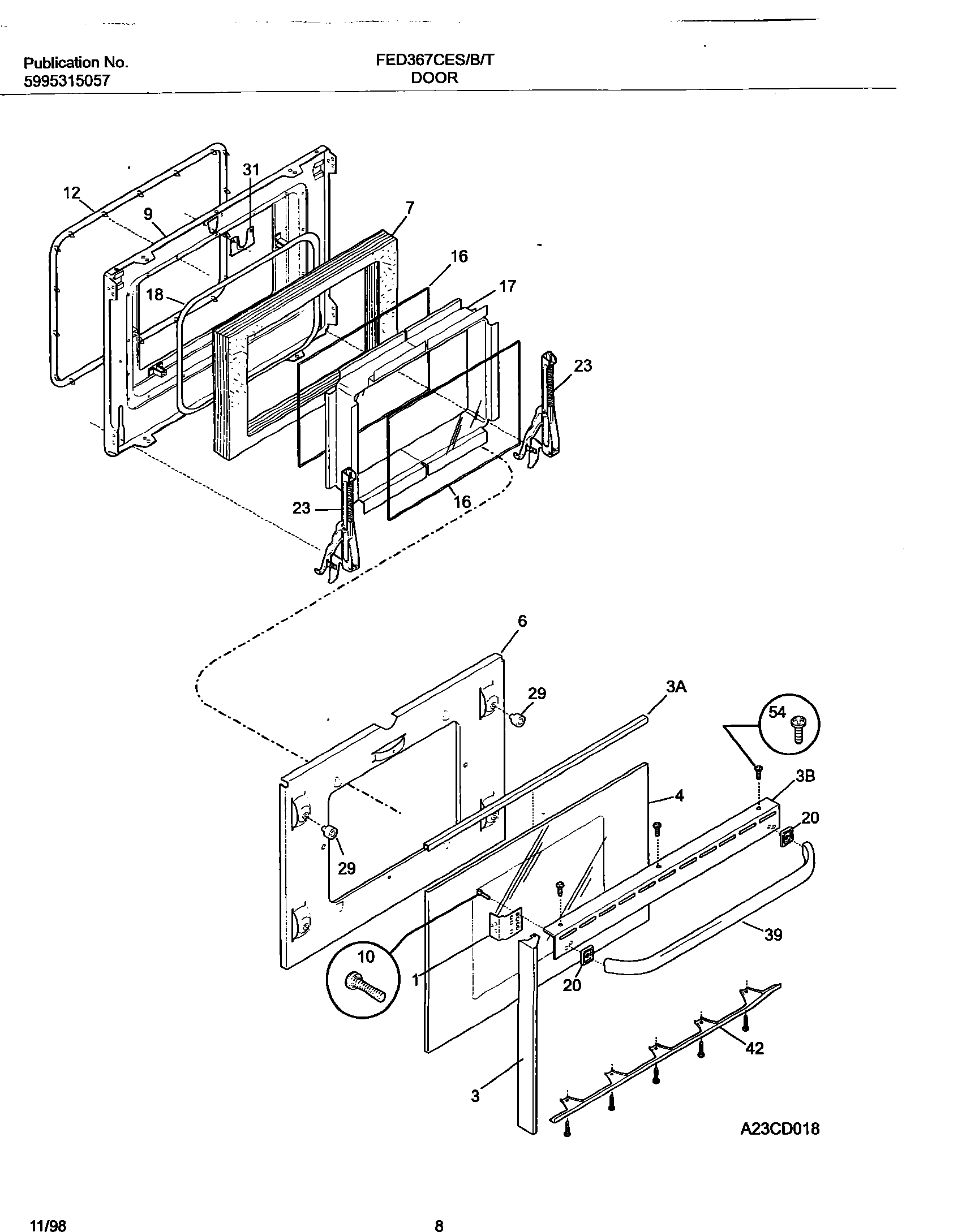
FED367CEBE 09 – DOOR