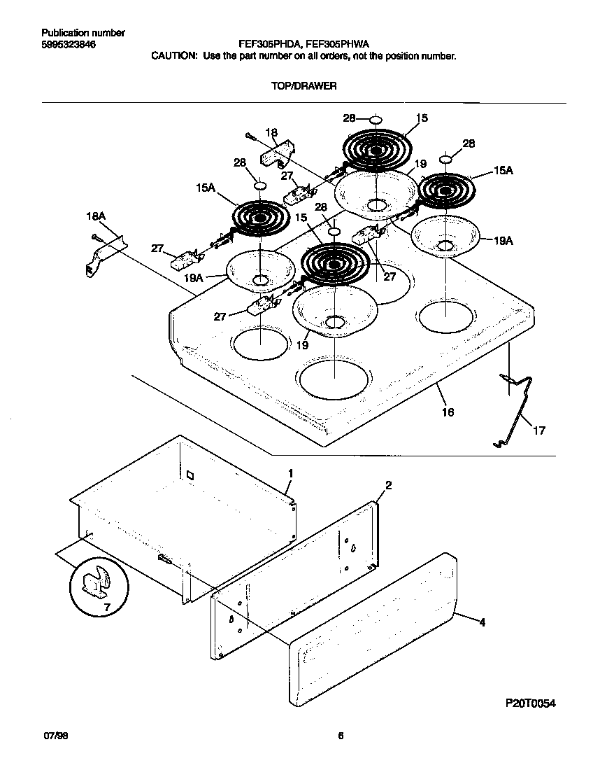
FEF305PHWA 04 – TOP/DRAWER