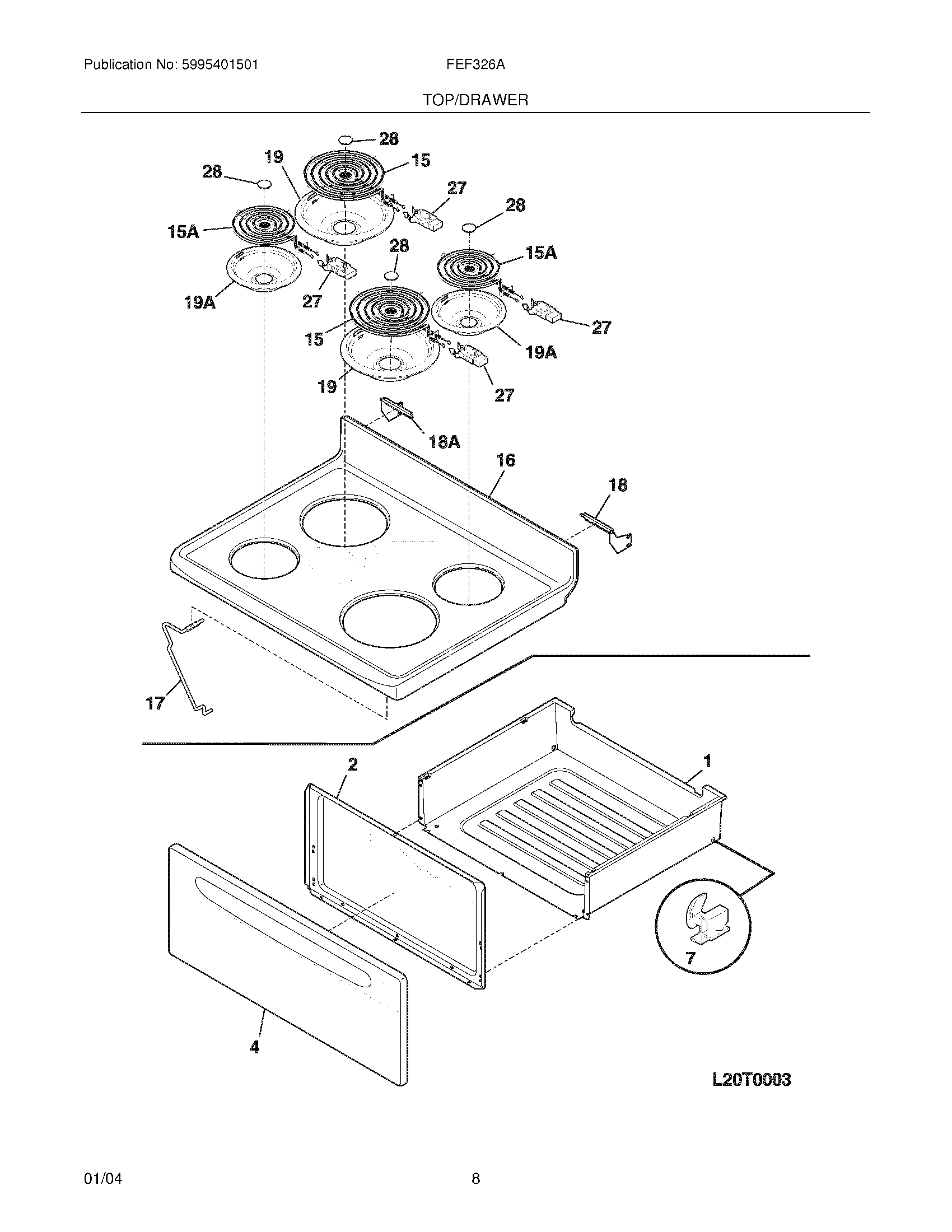
FEF326ABG 07 – TOP/DRAWERadmin2025-04-26T08:46:22+00:00FEF326ABG 07 – TOP/DRAWER ProductsPositionProductNI316058601 Frigidaire Oven ClipNIWCI 5303280311NI5308014215 Frigidaire Oven ScrewNI316580420 Frigidaire Oven HarnessNIScrew,cup pt ,8-18 x 0.375 ,chromeNI316021109 Frigidaire Oven Screw1WCI 3160115032WCI 3162315004316231328 Frigidaire Oven Panel73051163 Frigidaire Oven Range Rear Broiler Drawer Glide15316442301 Frigidaire Oven 8 Coil Element 2600W15A318372211 Frigidaire Oven 6" Electric Range Burner Kit16316202387 Frigidaire Oven Maintop17316057601 Frigidaire Oven Rod18WCI 31623590018AWCI 31623590119AA316222201 Frigidaire Oven Drip Bowl Assembly19A316222301 Frigidaire Oven 8" Porcelain Drip Bowl Range275303935058 Frigidaire Oven Burner Receptacle Kit285303017715 Frigidaire Medallion28MEDALLION, STAINLESS STEEL, SURF ELEM