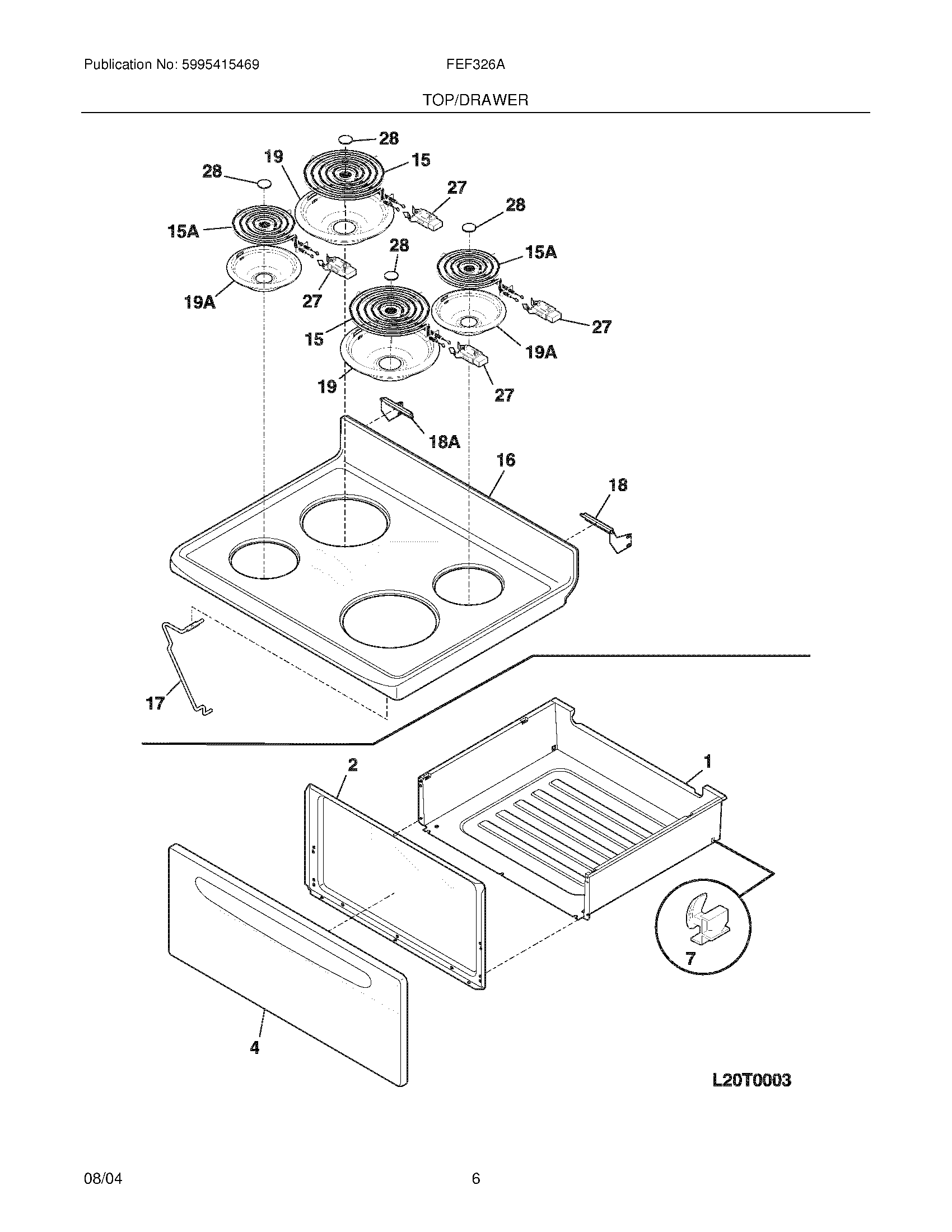
FEF326ASH 07 – TOP/DRAWER