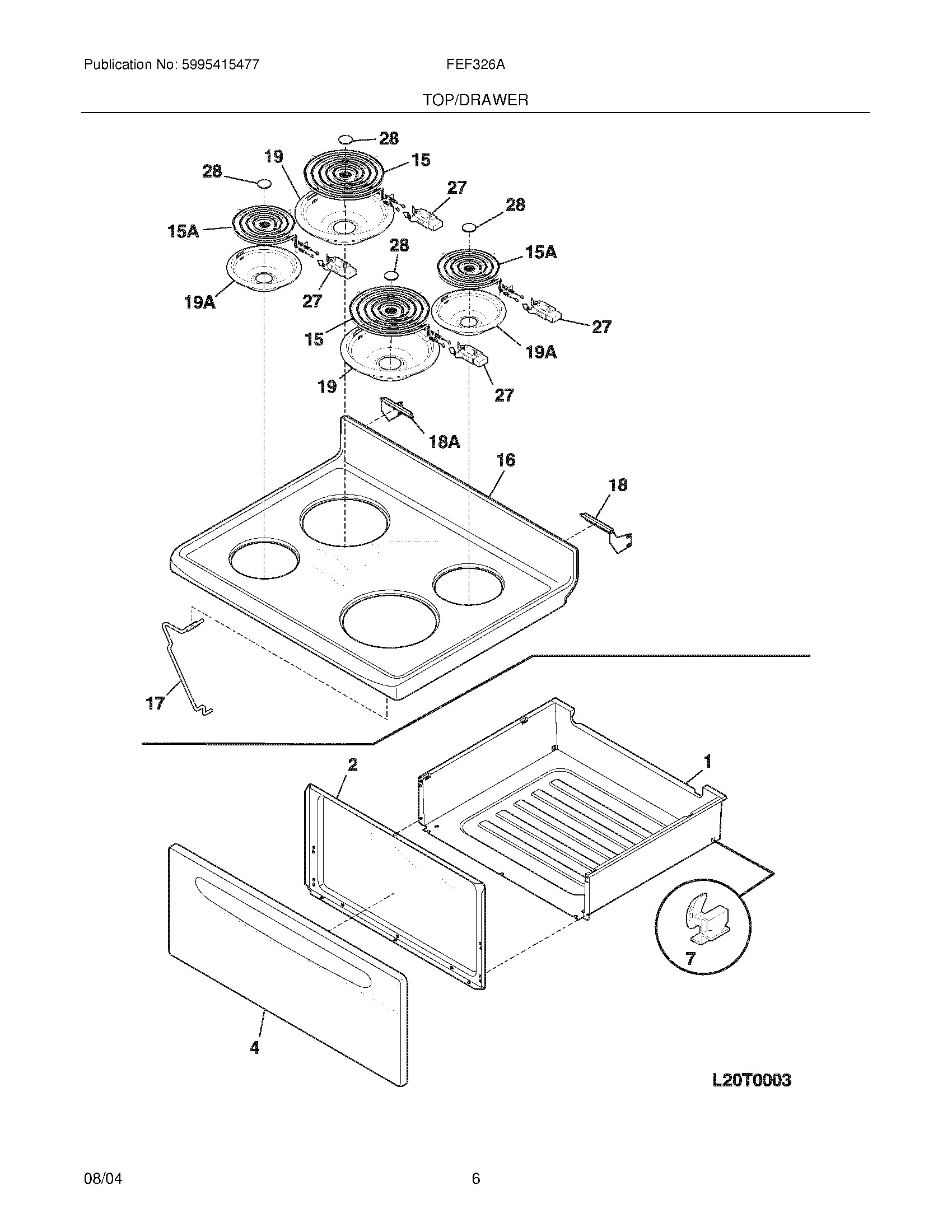
FEF326AWH 07 – TOP/DRAWER