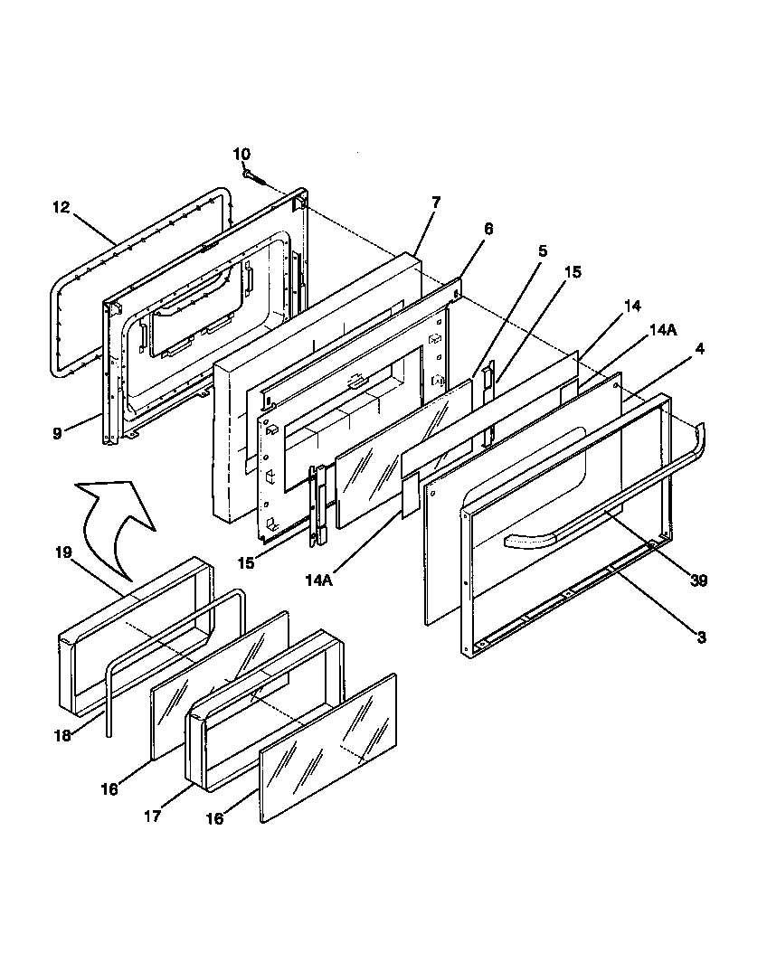
FEF350BADC 05 – DOOR