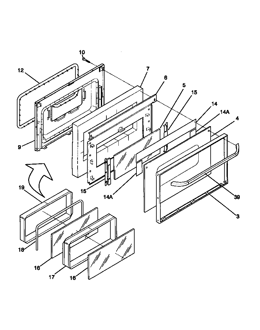
FEF350CASD 05 – DOOR