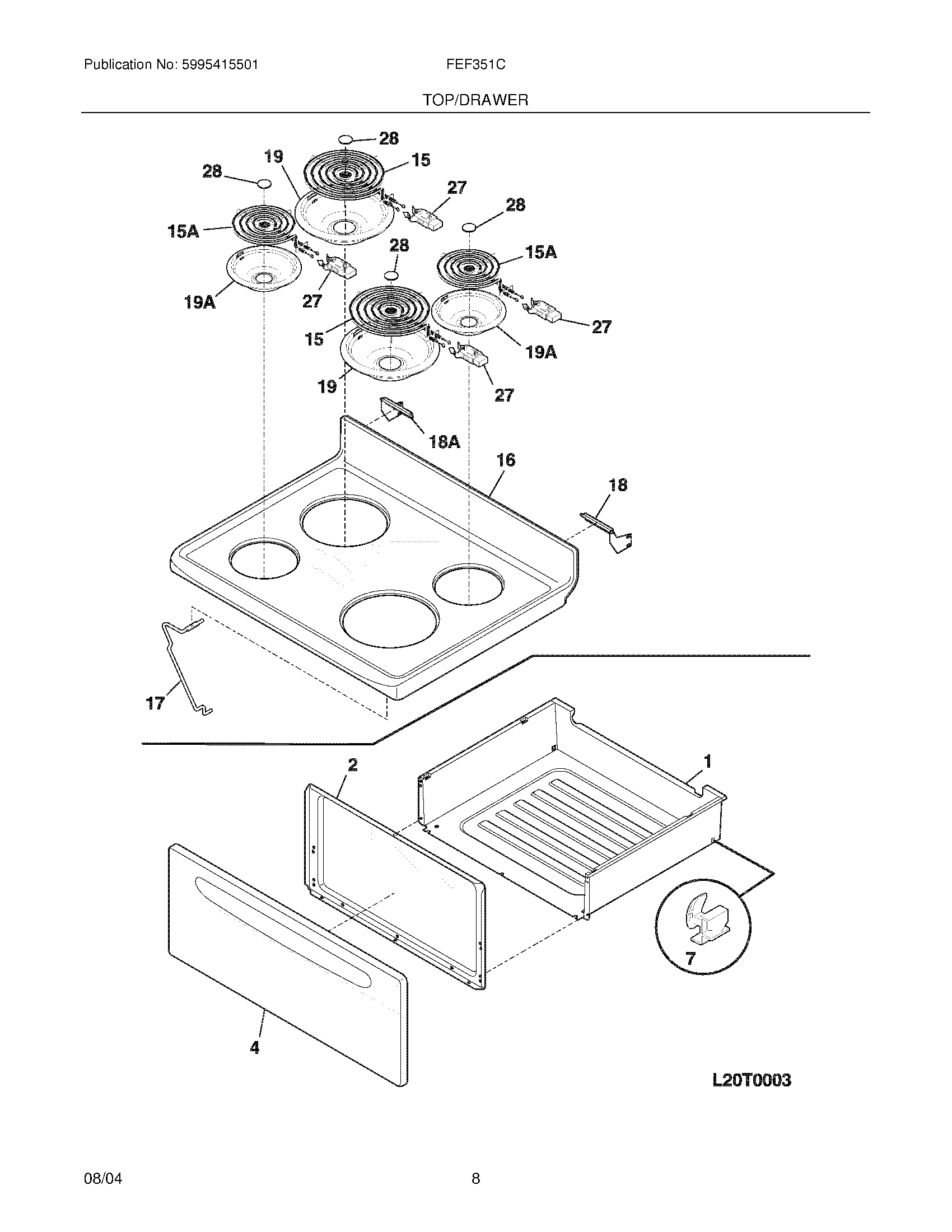
FEF351CWC 07 – TOP/DRAWERadmin2025-04-26T10:34:34+00:00FEF351CWC 07 – TOP/DRAWER ProductsPositionProductNI316580408 Frigidaire Oven HarnessNIWCI 5303280311NI5308014215 Frigidaire Oven ScrewNIScrew,cup pt ,8-18 x 0.375 ,chromeNI316021109 Frigidaire Oven ScrewNI316058601 Frigidaire Oven Clip1WCI 3160115032WCI 3162315004WCI 31623130573051163 Frigidaire Oven Range Rear Broiler Drawer Glide15A318372211 Frigidaire Oven 6" Electric Range Burner Kit15316442301 Frigidaire Oven 8 Coil Element 2600W16WCI 31624540217WCI 31606690018BRACKET-HINGE,MAIN TOP RH18ABRACKET-HINGE,MAIN TOP LH19316048413 Frigidaire Oven Range Chrome 8" Drip Bow19AL304430992 Frigidaire 6" Drip Bowl Chrome FM275303935058 Frigidaire Oven Burner Receptacle Kit285303017715 Frigidaire Medallion28MEDALLION, STAINLESS STEEL, SURF ELEM