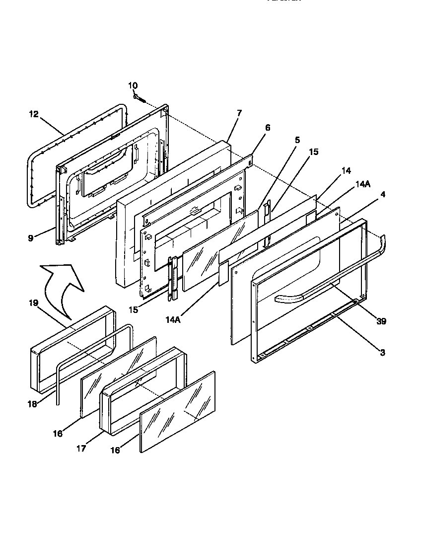
FEF357BADD 05 – DOOR