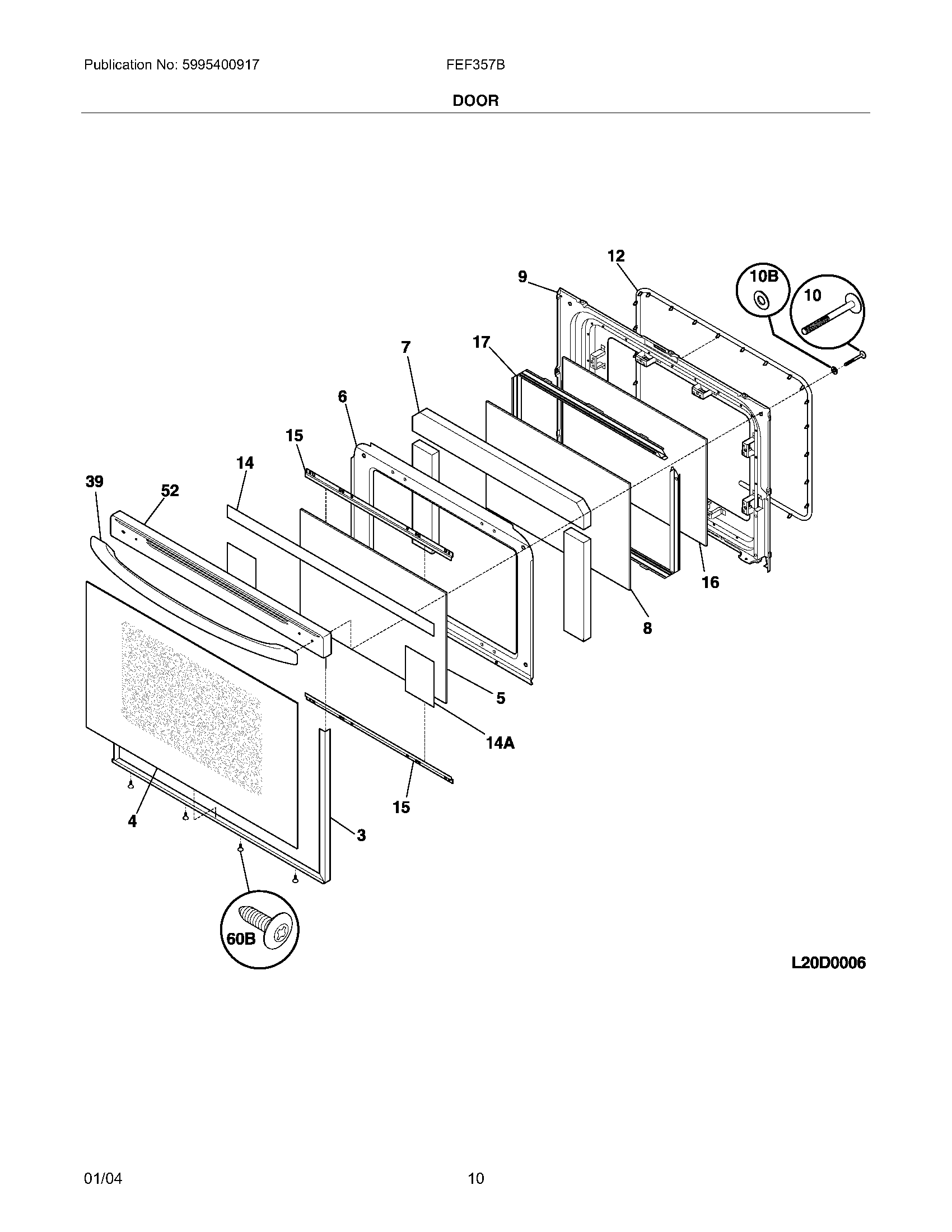
FEF357BBC 09 – DOOR