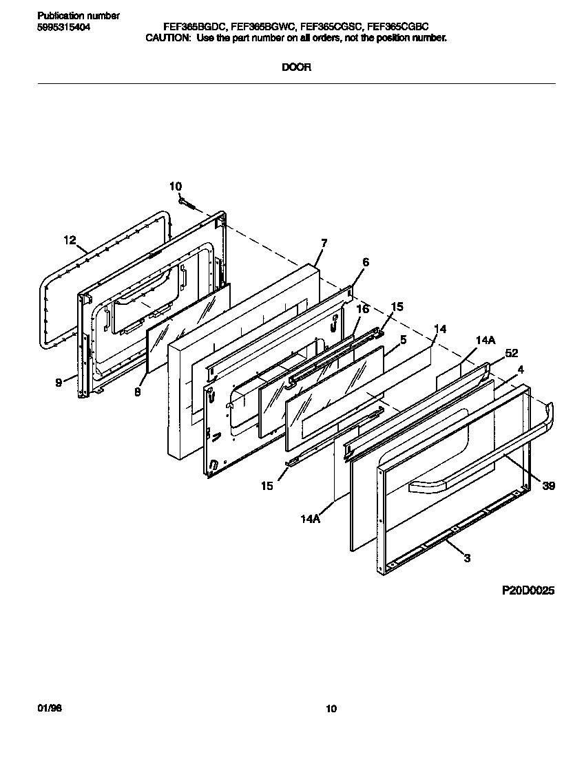
FEF365CGBC 05 – DOOR