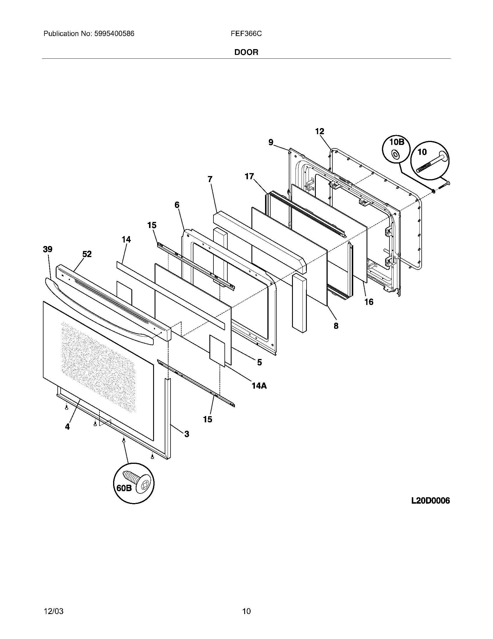
| NI | 5303285179 Frigidaire Oven Door Screw |
| NI | 316221001 Frigidaire Oven Label |
| NI | WCI 5303280311 |
| 3 | WCI 5303935193 |
| 4 | WCI 5303935202 |
| 5 | WCI 316237000 |
| 6 | WCI 316222707 |
| 7 | Insulation,oven door |
| 8 | 5304503232 Frigidaire Oven Inner Door Glass |
| 9 | WCI 316230617 |
| 10B | 316008401 Frigidaire Washer P-1 |
| 10 | 316001013 Frigidaire Oven Screw |
| 12 | 316277900 Frigidaire Oven Seal |
| 14A | Foil,4`` x 5.5`` ,aluminum ,clear ,(2) |
| 14 | 316574603 Frigidaire Oven FOIL |
| 15 | Bracket,glass support ,(2) |
| 16 | WCI 316117501 |
| 17 | Spacer,door glass ,(2) |
| 39 | WCI 316203003 |
| 52 | WCI 316201009 |
| 60B | 316021109 Frigidaire Oven Screw |