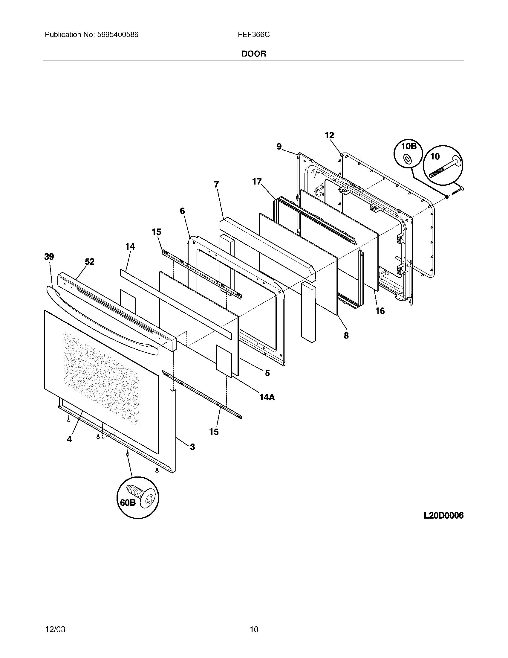
FEF366CSC 09 – DOOR