| *75215 | SCREW, CR PAN HD SEMS, 8-32BP X 1.00 |
| *75218 | 5303285179 Frigidaire Oven Door Screw |
| *75216 | 5303271648 Frigidaire Oven Screw |
| *75214 | WCI 316065301 |
| *75217 | WCI 5303280311 |
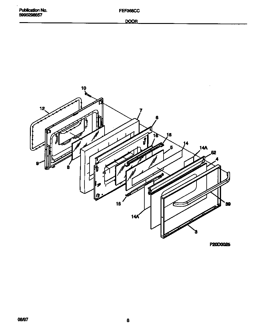
| 3 | WCI 316067803 |
| 4 | WCI 316089004 |
| 5 | WCI 316088700 |
| 6 | WCI 316088401 |
| 7 | WCI 316076403 |
| 8 | GLASS-OVEN DOOR, AIRWASH |
| 9 | WCI 316066610 |
| 10 | WCI 5303280308 |
| 12 | 5303131601 Frigidaire Oven Seal |
| 14 | 5303208655 Frigidaire Reflector Assembly |
| 14 | ALUM FOIL-B/G GLASS |
| 15 | WCI 316081401 |
| 16 | WCI 316085700 |
| 39 | WCI 316091116 |
| 52 | WCI 316081302 |