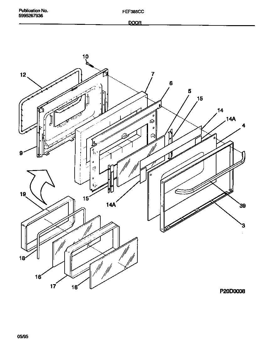
FEF385CCSC 05 – DOOR