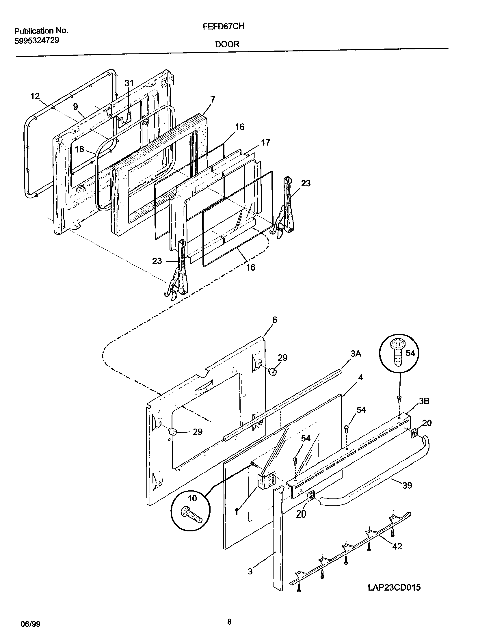
FEFD67CHBA 09 – DOOR