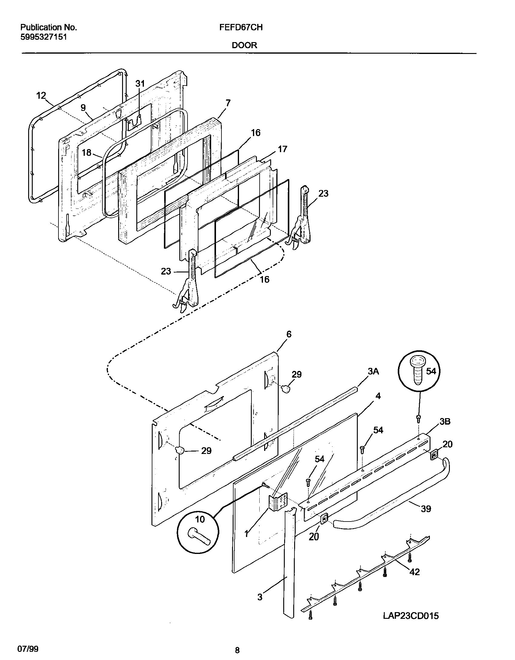
FEFD67CHBB 09 – DOOR