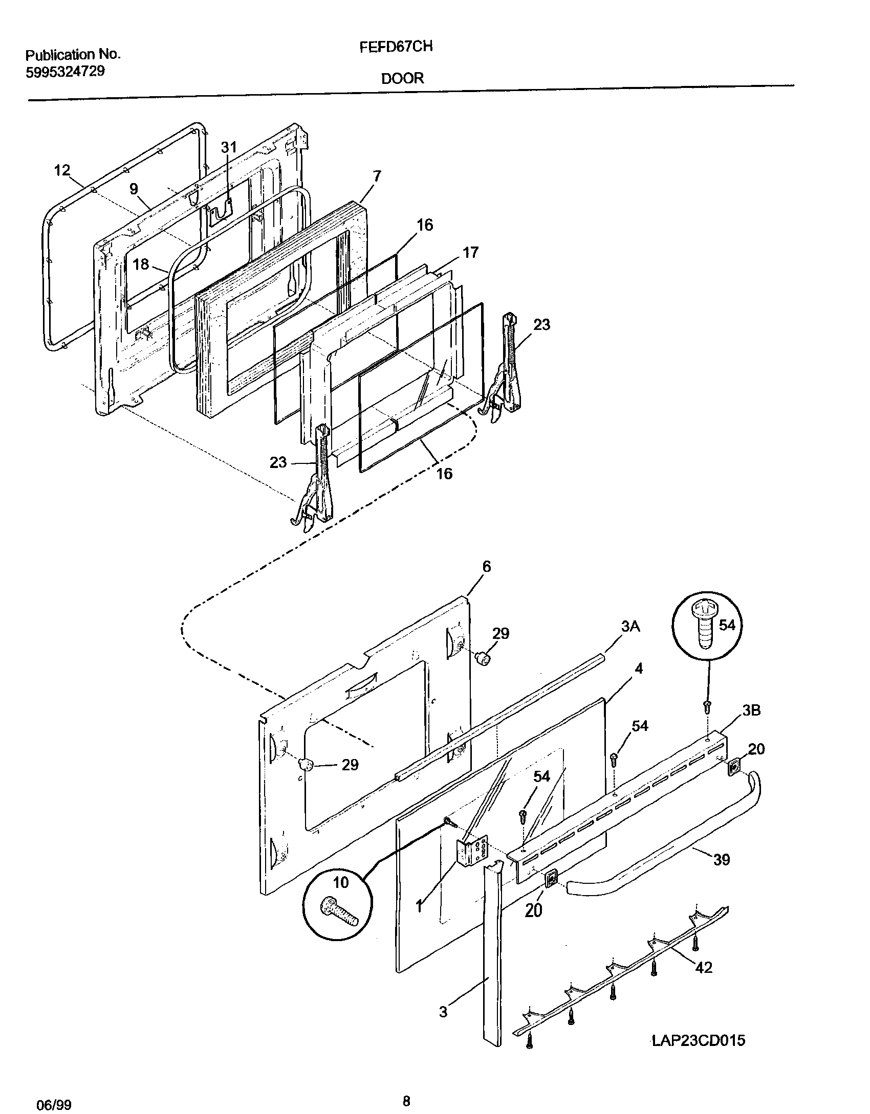
FEFD67CHSA 09 – DOOR