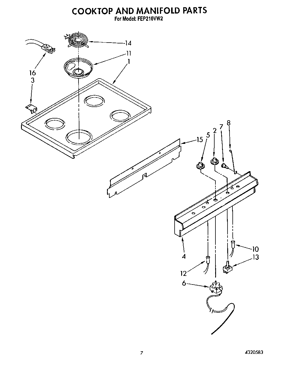
FEP210VW2 06 – COOKTOP AND MANIFOLDadmin2025-04-26T11:41:19+00:00FEP210VW2 06 – COOKTOP AND MANIFOLD
Products
| Position | Product |
|---|
| 1 | Cooktop (White) |
| 1 | Cooktop (Almond) |
| 2 | Knob, Burner (4) |
| 3 | Hinge, Maintop (2) |
| 3 | WP308685 Whirlpool Microwave Screw |
| 3 | Speed Clip (4) |
| 3 | SCREW |
| 4 | Panel, Manifold |
| 5 | Knob, Thermostat |
| 6 | Thermostat |
| 7 | Screw |
| 8 | Rod, Support |
| 10 | Light, Indicator (Oven) |
| 11 | WPW10196406 Whirlpool 6" Chrome Drip Bowl |
| 11 | DRIP BOWL 8" W/HOLE CHROME |
| 12 | Light, Indicator (Surface Unit) |
| 13 | W10900107 Whirlpool Oven Surface Element Switch |
| 14 | Unit, Surface (6``) |
| 14 | Unit, Surface (8``) |
| 15 | Cover, Switch |
| 16 | BURNER RECEPTACLE KIT |