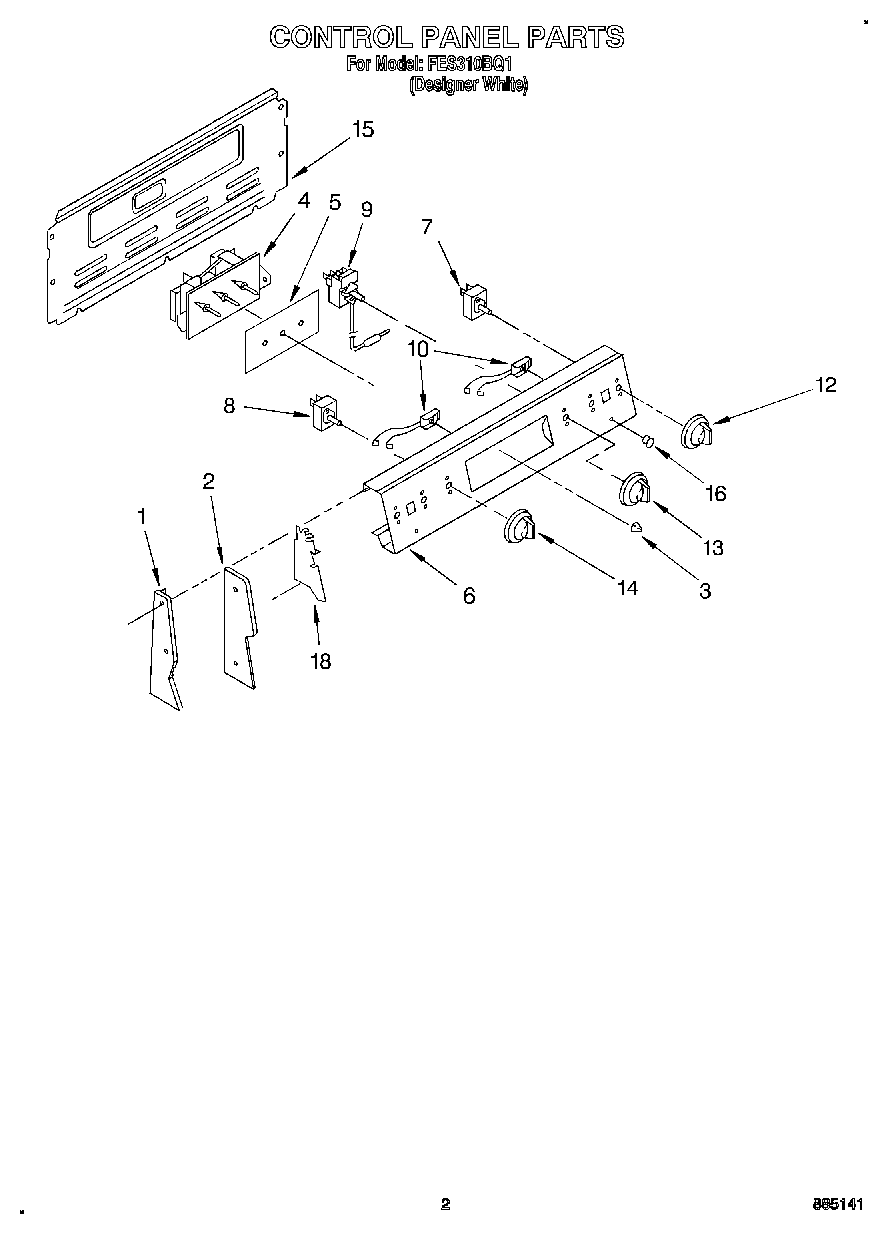
FES310BQ1 02 – CONTROL PANELadmin2025-04-26T11:30:32+00:00FES310BQ1 02 – CONTROL PANEL
Products
| Position | Product |
|---|
| 1 | End Trim R.H. (Designer White) |
| 1 | End Trim (LH, Designer White) |
| 2 | End Cap L.H. |
| 2 | End Cap R.H. |
| 2 | Screw, |
| 3 | WP3169181 Whirlpool Knob |
| 4 | Control, Oven Assembly |
| 5 | Glass, Timer |
| 6 | Panel, Control |
| 7 | Screw, 8-32 x 3/16 (2) |
| 7 | SWITCH-INF |
| 7 | WP3149404 Whirlpool Oven Surface Element Switch |
| 8 | Switch, Selector (5 Position) |
| 9 | WP313808 Whirlpool Screw |
| 9 | Thermostat, 0ven |
| 10 | Light, Indicator (250V) |
| 12 | WP3149983 Whirlpool Knob |
| 13 | Knob, Thermostat |
| 14 | Knob, Selector |
| 15 | Rear Cover Contr |
| 15 | SCREW |
| 16 | Lens, Amber |
| 18 | Shield (2) |
| 18 | WP965173 Whirlpool Dishwasher Screw |