| *41099 | WCI 5303311156 |
| *41098 | WCI 5303310504 |
| *41097 | 5303308456 Frigidaire Oven Screw |
| *41094 | 5304500008 Frigidaire Oven Screw |
| *41096 | 5303307980 Frigidaire Oven Screw |
| *41095 | 5303211311 Frigidaire Refrigerator Screw |
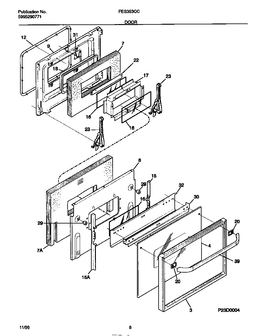
| 3 | WCI 5303311132 |
| 4 | WCI 5303311148 |
| 6 | WCI 5303311149 |
| 7 | WCI 5303311150 |
| 7 | WCI 5303310532 |
| 9 | WCI 318112901 |
| 12 | 318053103 Frigidaire Oven Door Seal Gasket |
| 15 | WCI 5303311154 |
| 15 | WCI 5303311153 |
| 16 | GLASS-OVEN DOOR, HEAT BARRIER |
| 17 | WCI 318139000 |
| 18 | SEAL-ROPE |
| 20 | WCI 318014301 |
| 22 | WCI 5303310511 |
| 23 | WCI 5303310828 |
| 29 | WCI 5303310535 |
| 30 | TRIM-HANDLE, WHITE |
| 31 | WCI 5303310536 |
| 32A | WCI 5303310509 |
| 32B | WCI 318056601 |
| 39 | WCI 316091119 |