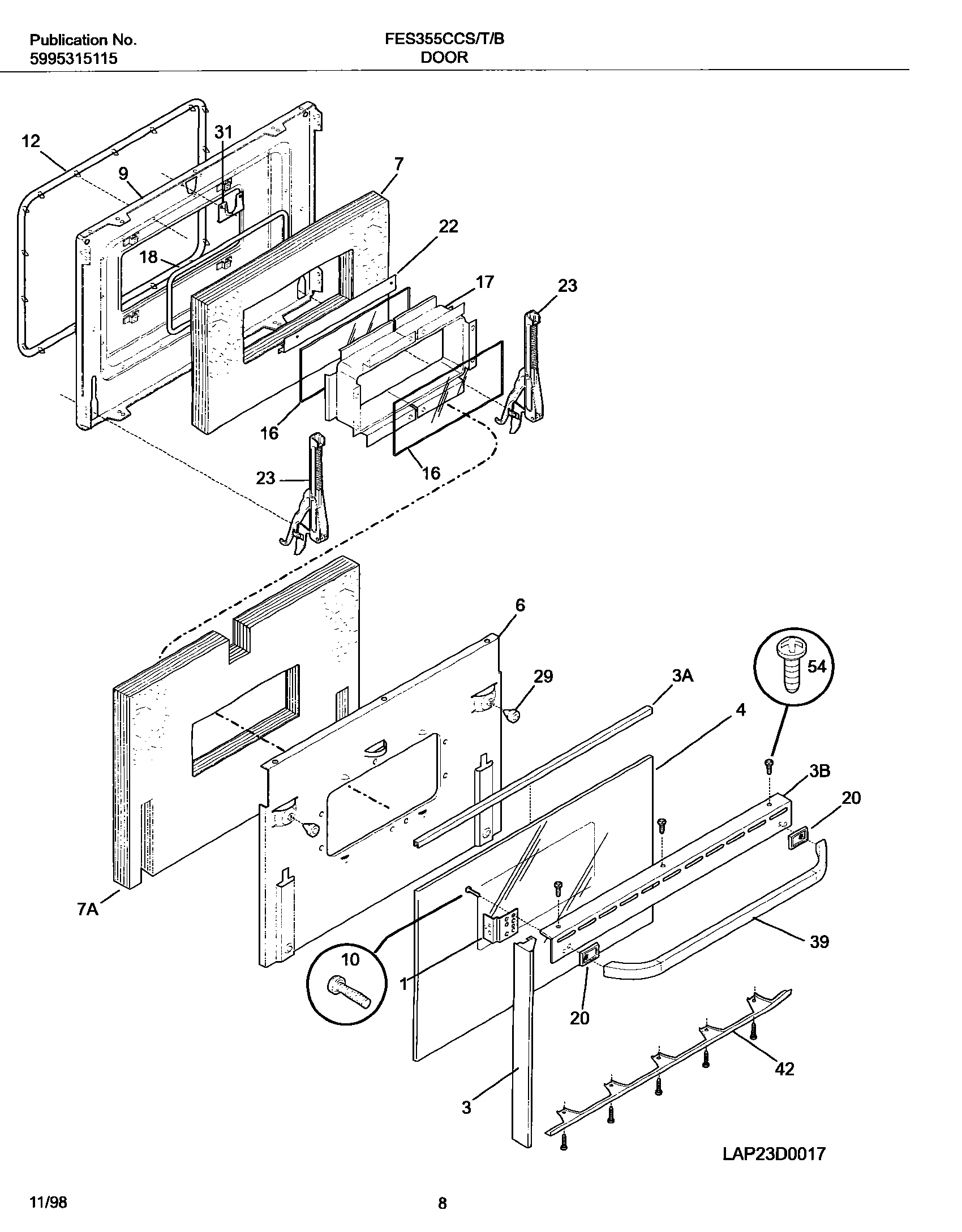
FES355CCSH 09 – DOOR