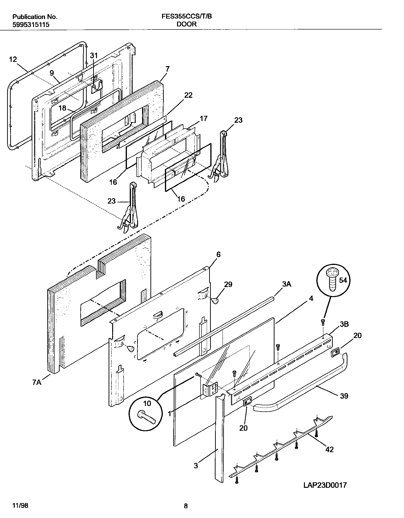
| NI | SCREW,TRUSS HEAD,8-18 X 0.375 |
| NI | 5303307980 Frigidaire Oven Screw |
| NI | 5303211311 Frigidaire Refrigerator Screw |
| 1 | WCI 318043100 |
| 3 | WCI 318049203 |
| 3A | WCI 318028900 |
| 3B | WCI 318049021 |
| 4 | WCI 5303311196 |
| 6 | WCI 5303311192 |
| 7A | WCI 5303311150 |
| 7 | WCI 5303310532 |
| 9 | WCI 318112906 |
| 10 | SCREW |
| 12 | 318053103 Frigidaire Oven Door Seal Gasket |
| 16 | GLASS-OVEN DOOR, HEAT BARRIER |
| 17 | WCI 318139000 |
| 18 | SEAL-ROPE |
| 20 | SPACER-HANDLE,ALMOND |
| 22 | WCI 5303310511 |
| 23 | Hinge,oven door |
| 23 | 5300809968 Frigidaire Dishwasher P-1 Washer |
| 29 | WCI 5303310535 |
| 31 | WCI 5303310536 |
| 39 | WCI 316091120 |
| 42 | WCI 5303311198 |
| 54 | 5303300265 Frigidaire Oven Screw |