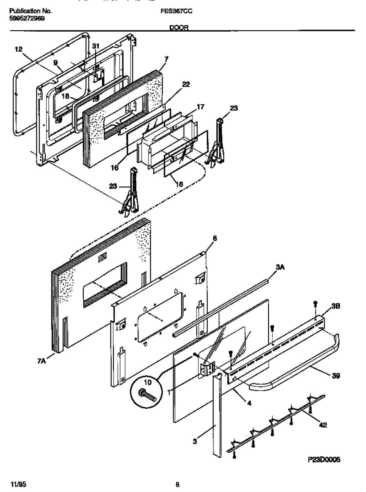
FES367CCBA 05 – DOOR