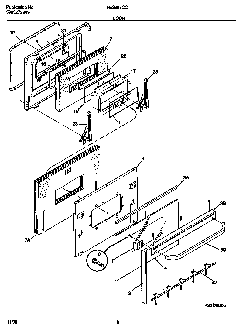
FES367CCS1 05 – DOOR