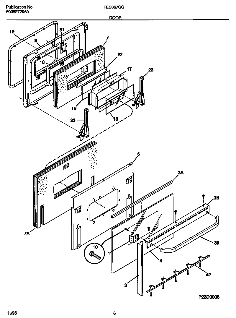
FES367CCT1 05 – DOOR