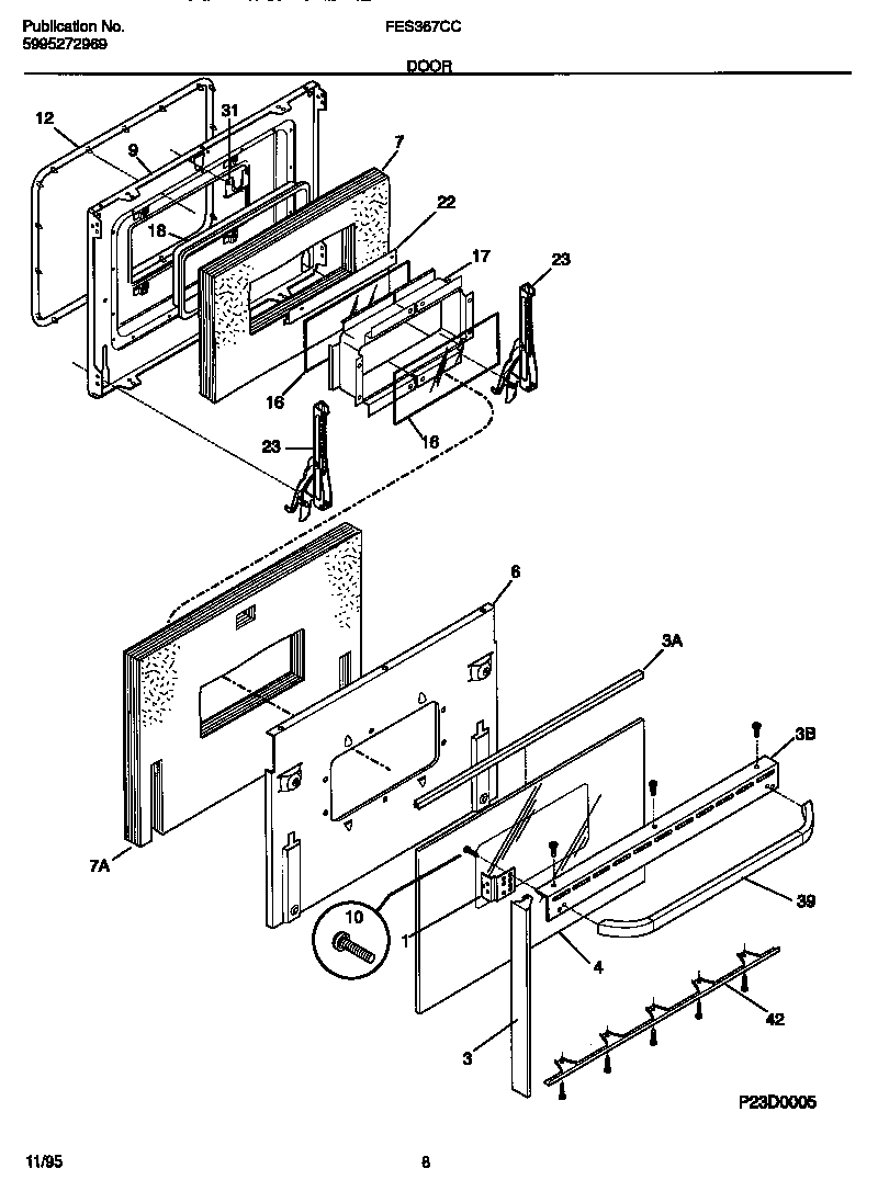
FES367CCTA 05 – DOOR