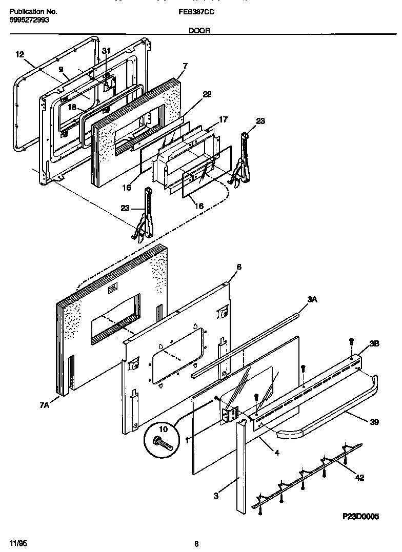
FES387CCS1 05 – DOOR