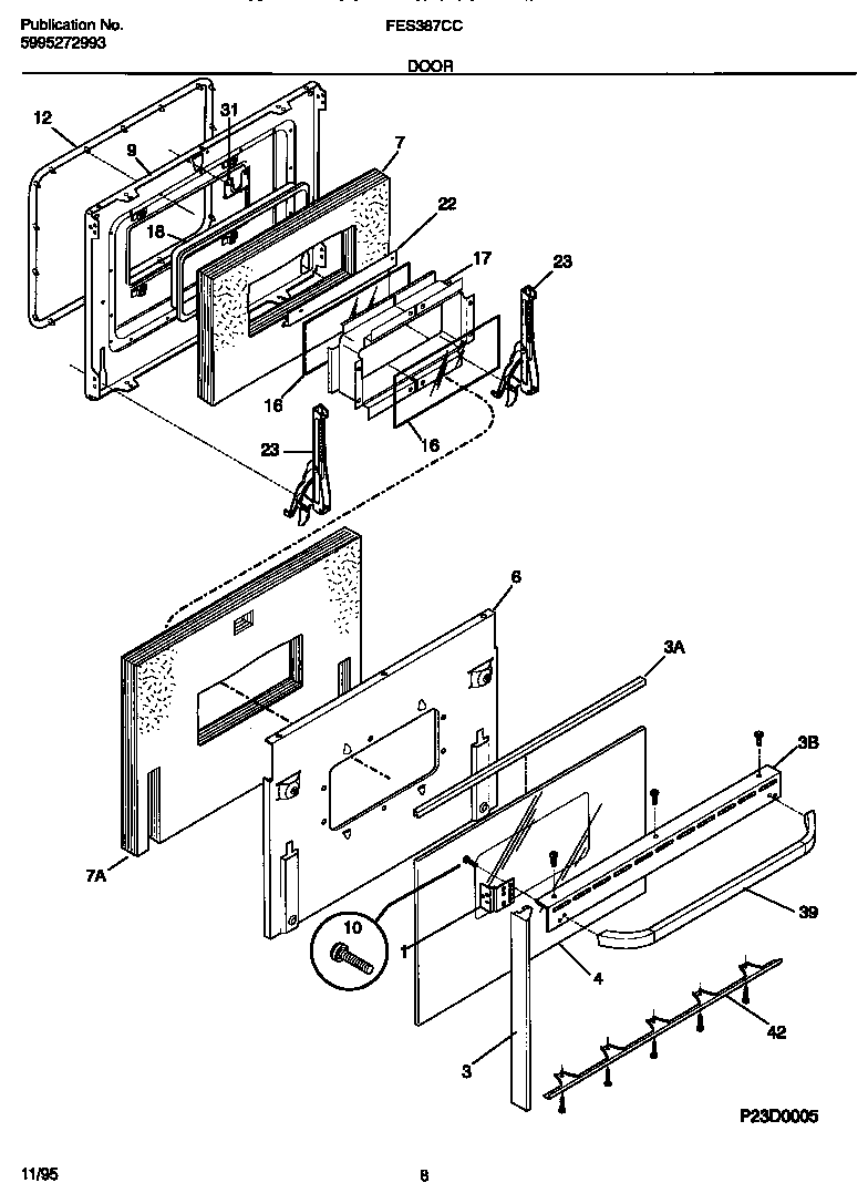
FES387CCSA 05 – DOOR