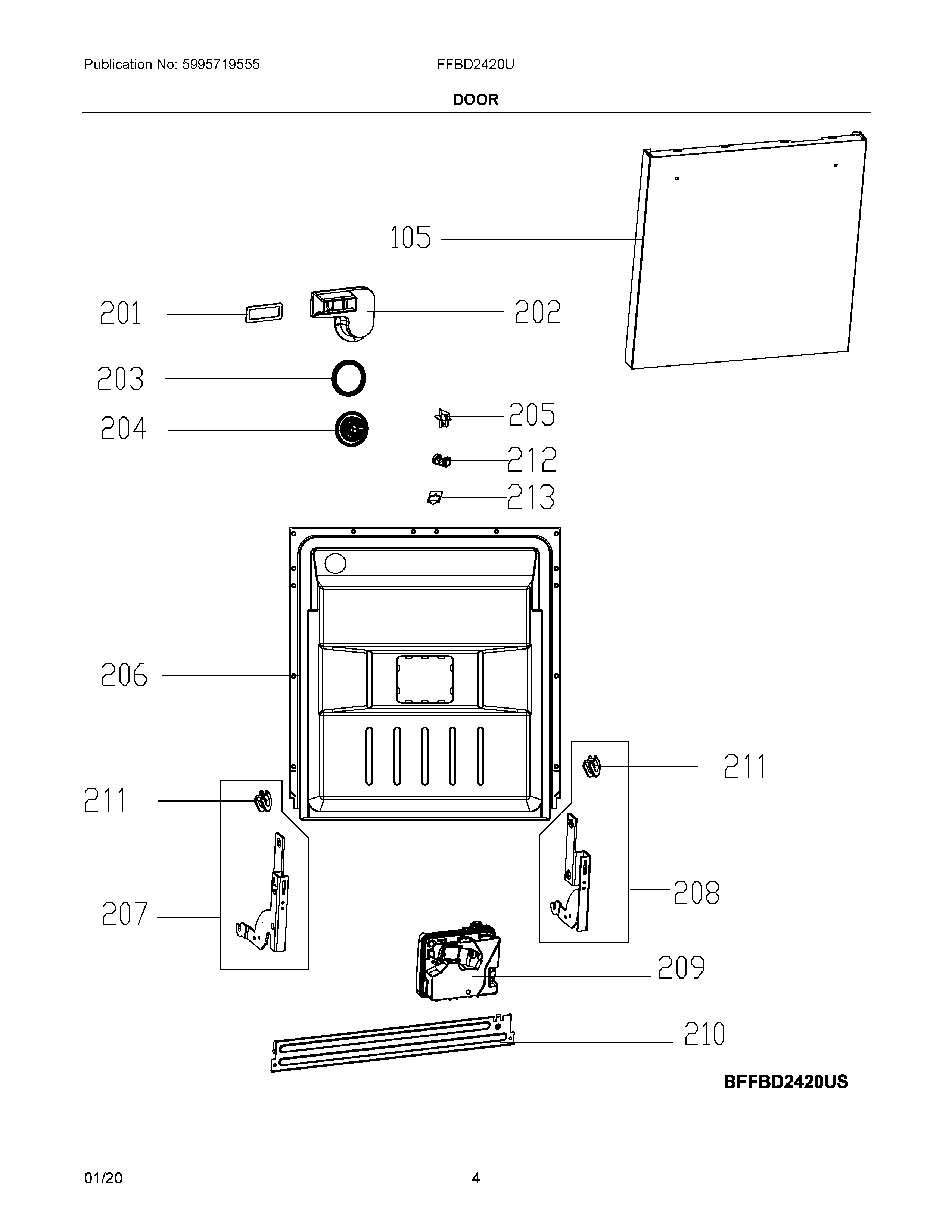
| 105 | 5304519936 Frigidaire Dishwasher Door |
| 201 | 5304519219 Frigidaire Dishwasher Gasket |
| 202 | 5304519220 Frigidaire Vent |
| 203 | 5304519221 Frigidaire Dishwasher Seal |
| 204 | 5304519222 Frigidaire Nut |
| 205 | 5304519223 Frigidaire Dishwasher Hook |
| 206 | 5304519290 Frigidaire Dishwasher Liner |
| 207 | 5304519980 Frigidaire Dishwasher Hinge Kit |
| 208 | 5304519981 Frigidaire Dishwasher Hinge Kit |
| 209 | 5304519227 Frigidaire Dispenser |
| 210 | 5304519291 Frigidaire Dishwasher Bracket |
| 211 | GROMMET, HINGE FRICTION |
| 212 | 5304519230 Frigidaire Dishwasher Block |
| 213 | 5304519231 Frigidaire Dishwasher Seal |