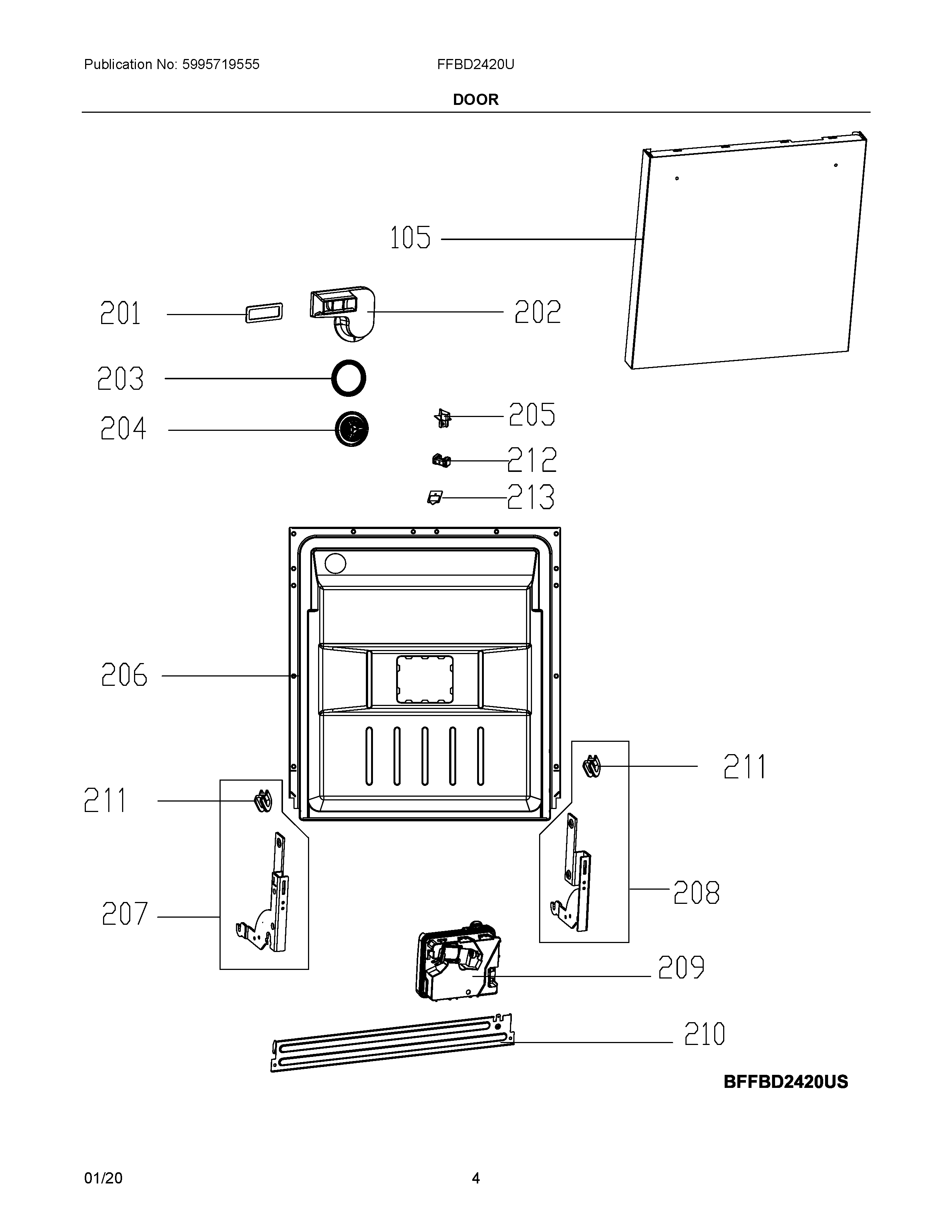
FFBD2420US 03 – DOOR