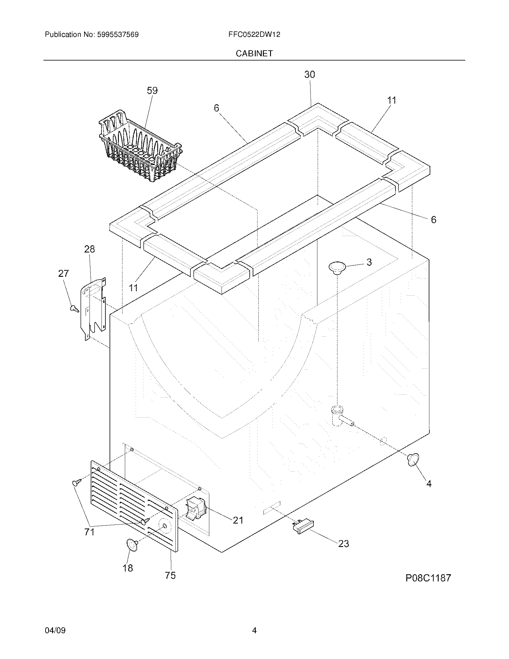
FFC0522DW12 05 – CABINET