| NI | WCI 216793810 |
| NI | 5303321319 Frigidaire Refrigerator White Touch Up Paint |
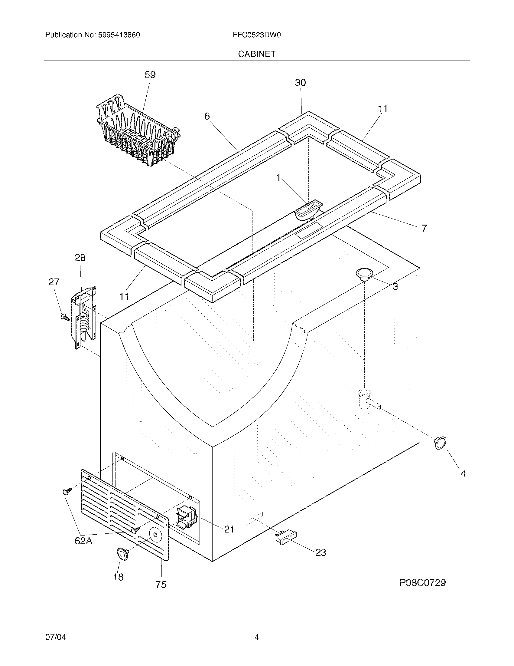
| 1 | CATCH-LOCK |
| 3 | PLUG-DRAIN,EXTERIOR |
| 4 | WCI 216073900 |
| 6 | WCI 216855700 |
| 7 | WCI 216855701 |
| 11 | WCI 216855706 |
| 18 | 216707200 Frigidaire Refrigerator Cold Control Knob |
| 21 | 5304496559 Frigidaire Refrigerator Cold Control Kit |
| 23 | WCI 06594648 |
| 27 | 216337701 Frigidaire Refrigerator Screw |
| 28 | WCI 216478800 |
| 30 | WCI 216105500 |
| 59 | 216848200 Frigidaire Refrigerator Basket |
| 62A | 131168200 Frigidaire Dryer Screw |
| 75 | WCI 216782000 |