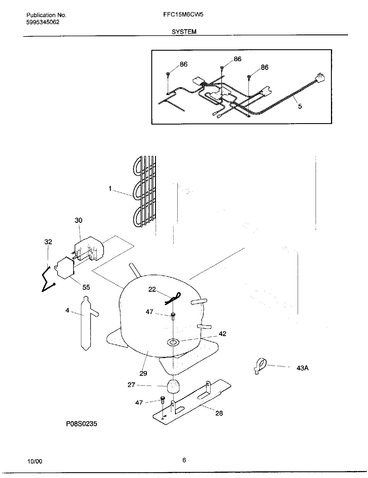
FFC15M6CW5 06 – SYSTEM