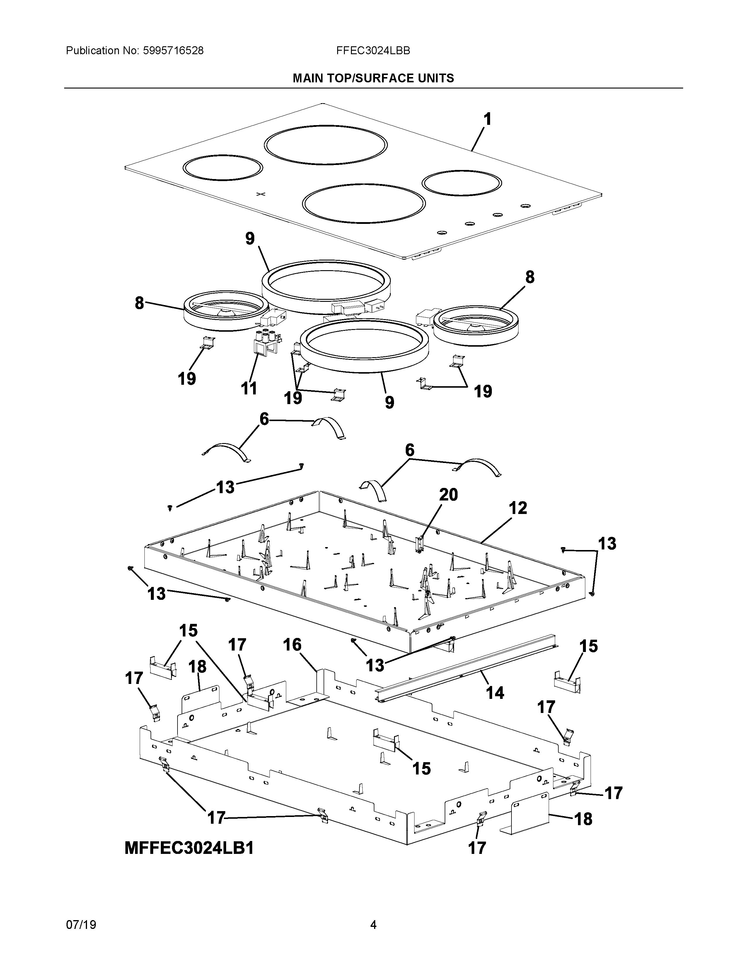
FFEC3024LBB 03 – MAIN TOP/SURFACE UNITSadmin2025-04-26T10:49:08+00:00FFEC3024LBB 03 – MAIN TOP/SURFACE UNITS ProductsPositionProductNI5308014215 Frigidaire Oven ScrewNIWCI 5304518621NI5304521294 Frigidaire Oven HarnessNISCREW, (4)NI305351200 Frigidaire RivetNI305309606 Frigidaire Oven ScrewNI305452800 Frigidaire ScrewNI5305511218 Frigidaire Ceramabryte C12 18O1305379341 Frigidaire Maintop Assembly6387372900 Frigidaire SPRING8A02843501 Frigidaire Element9305440417 Frigidaire Radiant Surface Element11387812004 Frigidaire Light Assembly12WCI 38755870013330447900 Frigidaire Oven Screw14387683500 Frigidaire Support15387627600 Frigidaire Spacer16WCI 38755940017387174602 Frigidaire Oven Bracket18387627700 Frigidaire Oven Bracket19387683300 Frigidaire Bracket20WCI 387727700