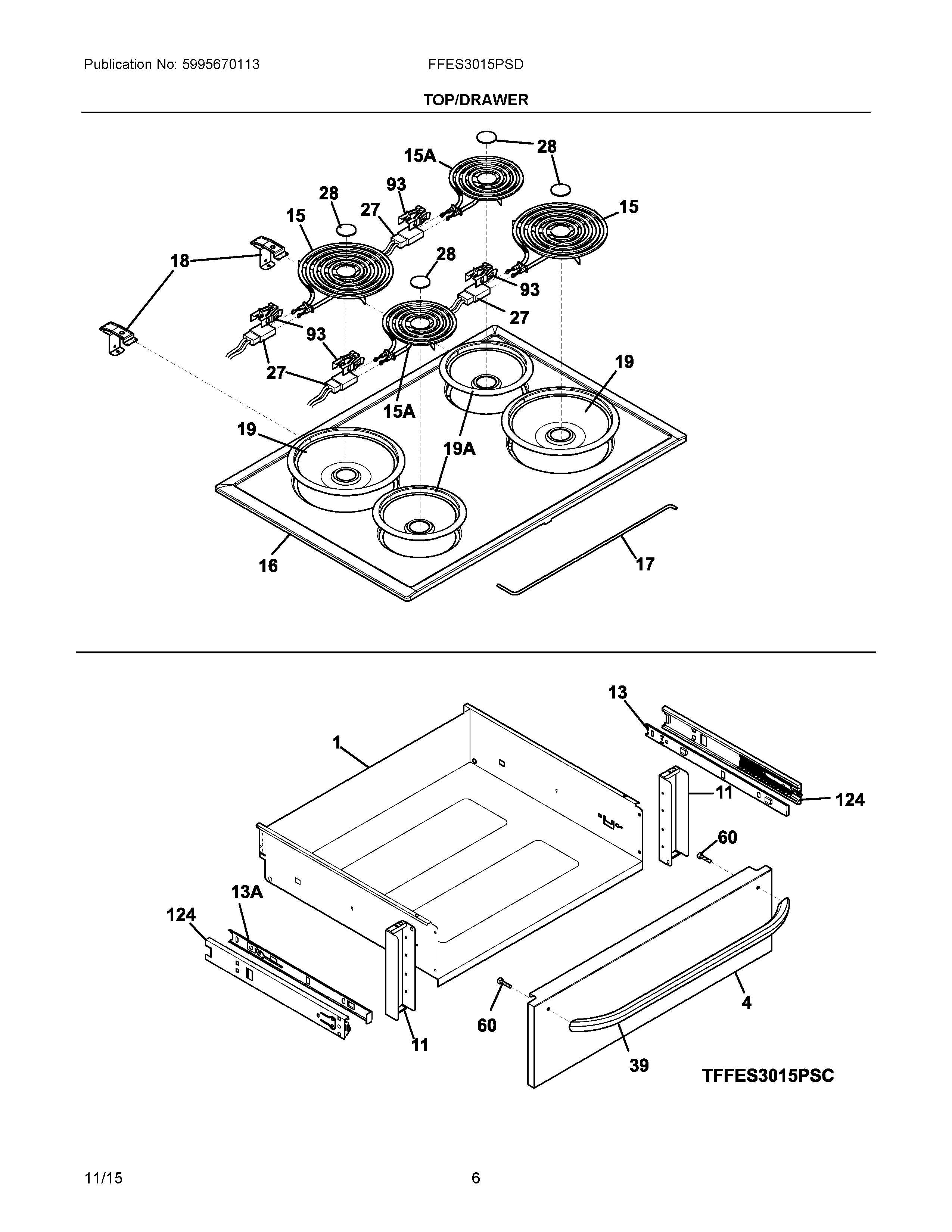
FFES3015PSD 04 – TOP/DRAWERadmin2025-04-26T10:07:22+00:00FFES3015PSD 04 – TOP/DRAWER ProductsPositionProductNI5304501948 Frigidaire ScrewNI316021105 Frigidaire Oven ScrewNI5304517816 Frigidaire HarnessNI5303289910 Frigidaire Oven ScrewNI316021109 Frigidaire Oven Screw1318107317 Frigidaire Oven Drawer4WCI 31829881211WCI 31829860013WCI 31825950413AWCI 31825950515316442301 Frigidaire Oven 8 Coil Element 2600W15A318372211 Frigidaire Oven 6" Electric Range Burner Kit16318225606 Frigidaire Oven Maintop17ROD-TOP SUPPORT18WCI 31822771019316048413 Frigidaire Oven Range Chrome 8" Drip Bow19A316048414 Frigidaire Oven Range Chrome 6" Drip Bowl275304503375 Frigidaire Oven Harness285303017715 Frigidaire Medallion39316558201 Frigidaire Oven Handle605304414648 Frigidaire Oven Screw93WCI 318366410124WCI 318330600