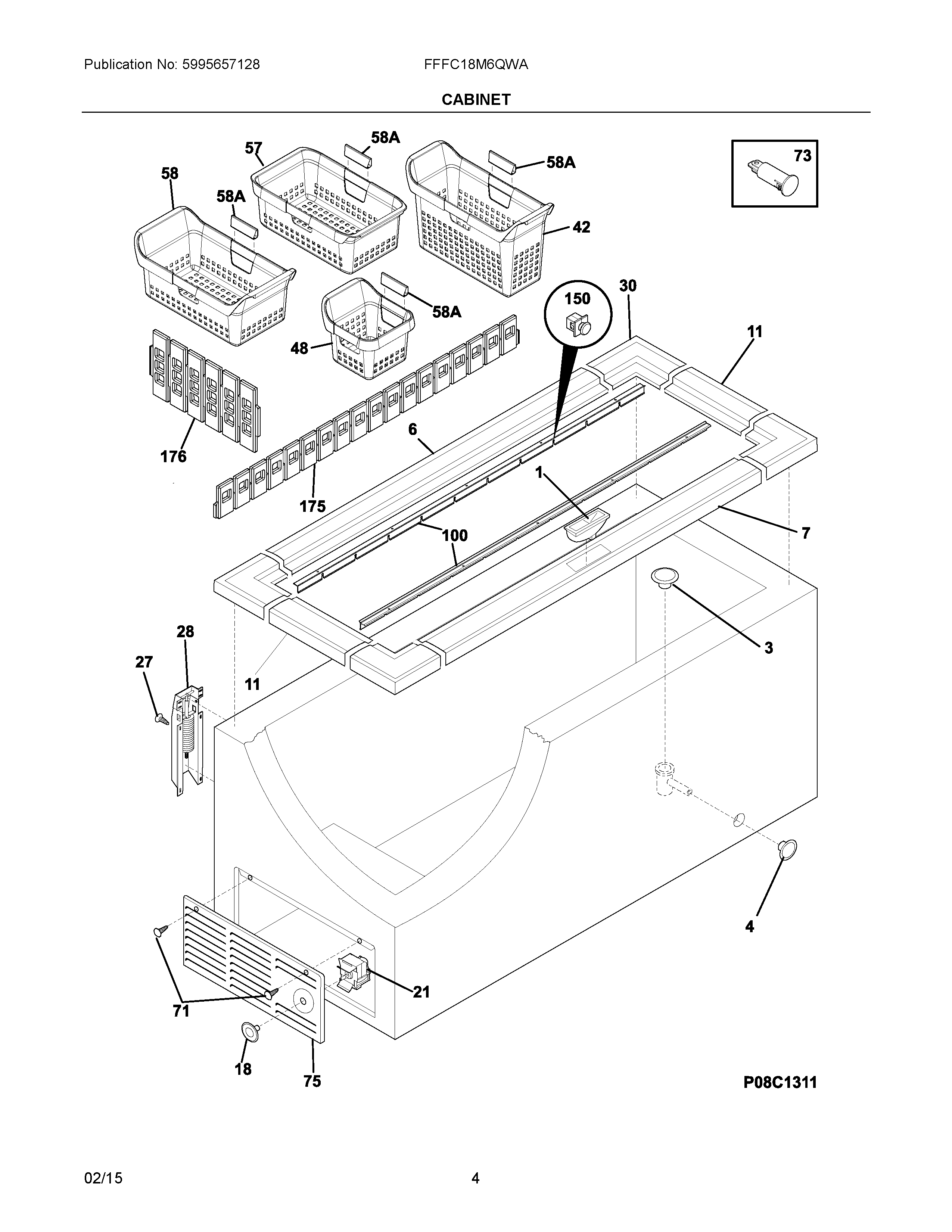
| NI | WCI 5304495448 |
| NIB | WCI 5304494017 |
| NIAA | HANDLE BASKET, FREEZER GRE |
| NI | WCI 5303313703 |
| NIC | 808408304 Frigidaire Refrigerator Clip |
| NI | 5303321319 Frigidaire Refrigerator White Touch Up Paint |
| NI | 216858001 Frigidaire Refrigerator Screw |
| 1 | WCI 216954500 |
| 3 | PLUG-DRAIN,EXTERIOR |
| 4 | WCI 297013600 |
| 6 | WCI 5304493712 |
| 7 | WCI 5304493975 |
| 11 | 5304493668 Frigidaire BREAKER |
| 18 | 216707200 Frigidaire Refrigerator Cold Control Knob |
| 21 | 297216043 Frigidaire Refrigerator Control |
| 27 | 216629601 Frigidaire Refrigerator Screw |
| 28 | 297322000 Frigidaire Refrigerator Hinge Assembly |
| 30 | 5304495365 Frigidaire Breaker |
| 42 | 808695401 Frigidaire Refrigerator Pizza Basket |
| 48 | 808702401 Frigidaire Refrigerator Hanging Basket 1/2 |
| 57 | 297404204 Frigidaire Refrigerator Basket |
| 58 | 297404101 Frigidaire Refrigerator Basket |
| 58A | 808408301 Frigidaire Refrigerator Clip |
| 71 | 131420300 Frigidaire Screw |
| 73 | 5304495394 Frigidaire Refrigerator Light Signal |
| 75 | WCI 216034301 |
| 100 | WCI 297424803 |
| 150 | WCI 216997400 |
| 175 | WCI 297404404 |
| 176 | 297404700 Frigidaire Refrigerator Divider |