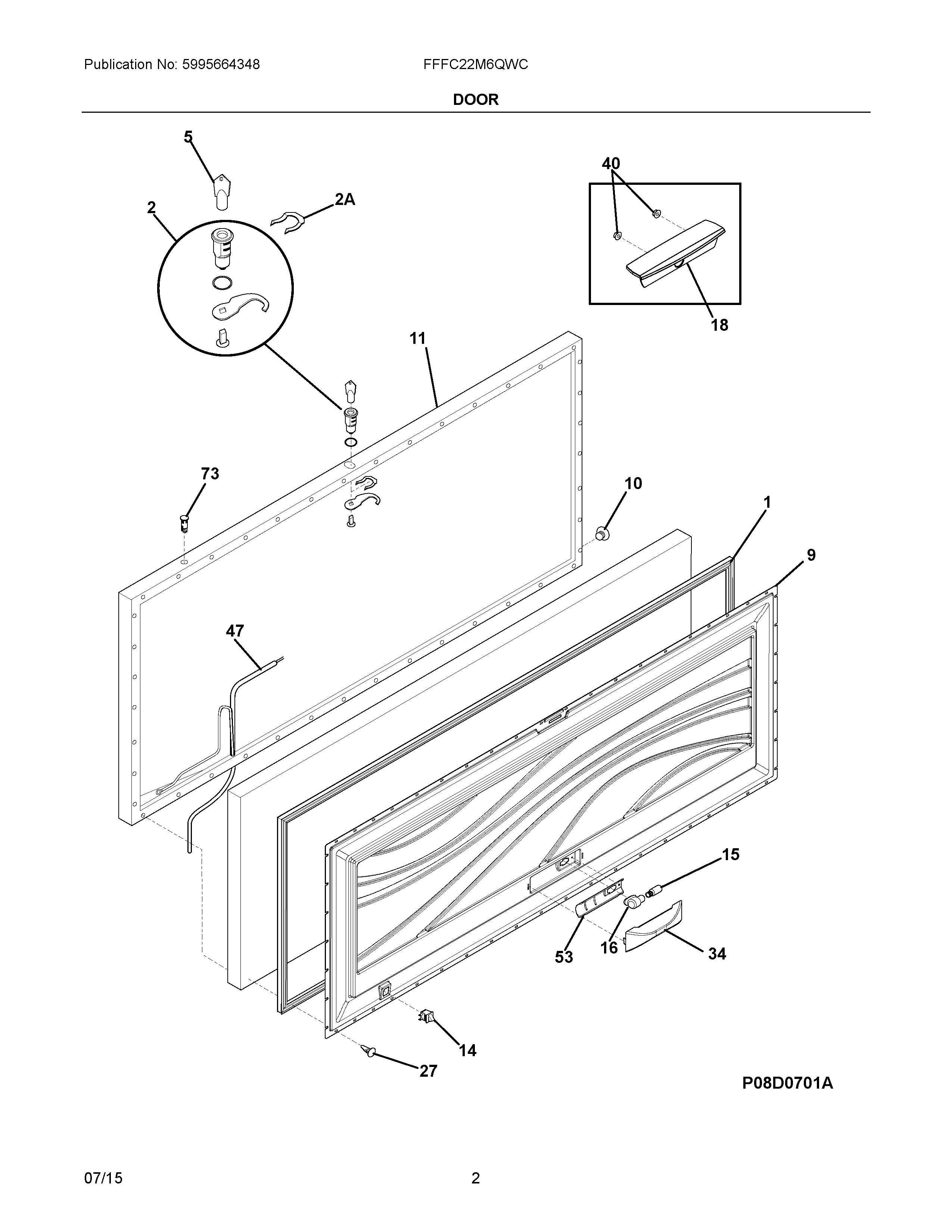
| NI | 216858001 Frigidaire Refrigerator Screw |
| NIA | 5304406520 Frigidaire Refrigerator Clip 40 Pack |
| NI | WCI 5304497740 |
| NI | WCI 5303925098 |
| 1 | 216469311 Frigidaire Refrigerator Door Gasket |
| 2 | WCI 297090100 |
| 2A | 297090900 Frigidaire Refrigerator Clip |
| 5 | 297147700 Frigidaire Freezer Plastic Door Key |
| 9 | 297376300 Frigidaire Refrigerator Inner Door Panel |
| 10 | WCI 216923001 |
| 11 | 216032428 Frigidaire Refrigerator Panel-Outer Door/Li |
| 14 | 216822900 Frigidaire Refrigerator Switch |
| 15 | 5304517886 Frigidaire Refrigerator Light |
| 16 | 297139501 Frigidaire Refrigerator Socket |
| 18 | HANDLE, W/GRAPHICS |
| 27 | 5303212828 Frigidaire Refrigerator Primary Clip |
| 34 | 297438600 Frigidaire Shield |
| 40 | WCI 216922700 |
| 47 | 5304504154 Frigidaire Refrigerator Harness |
| 53 | 5304493988 Frigidaire Shield |
| 73 | 5304495394 Frigidaire Refrigerator Light Signal |