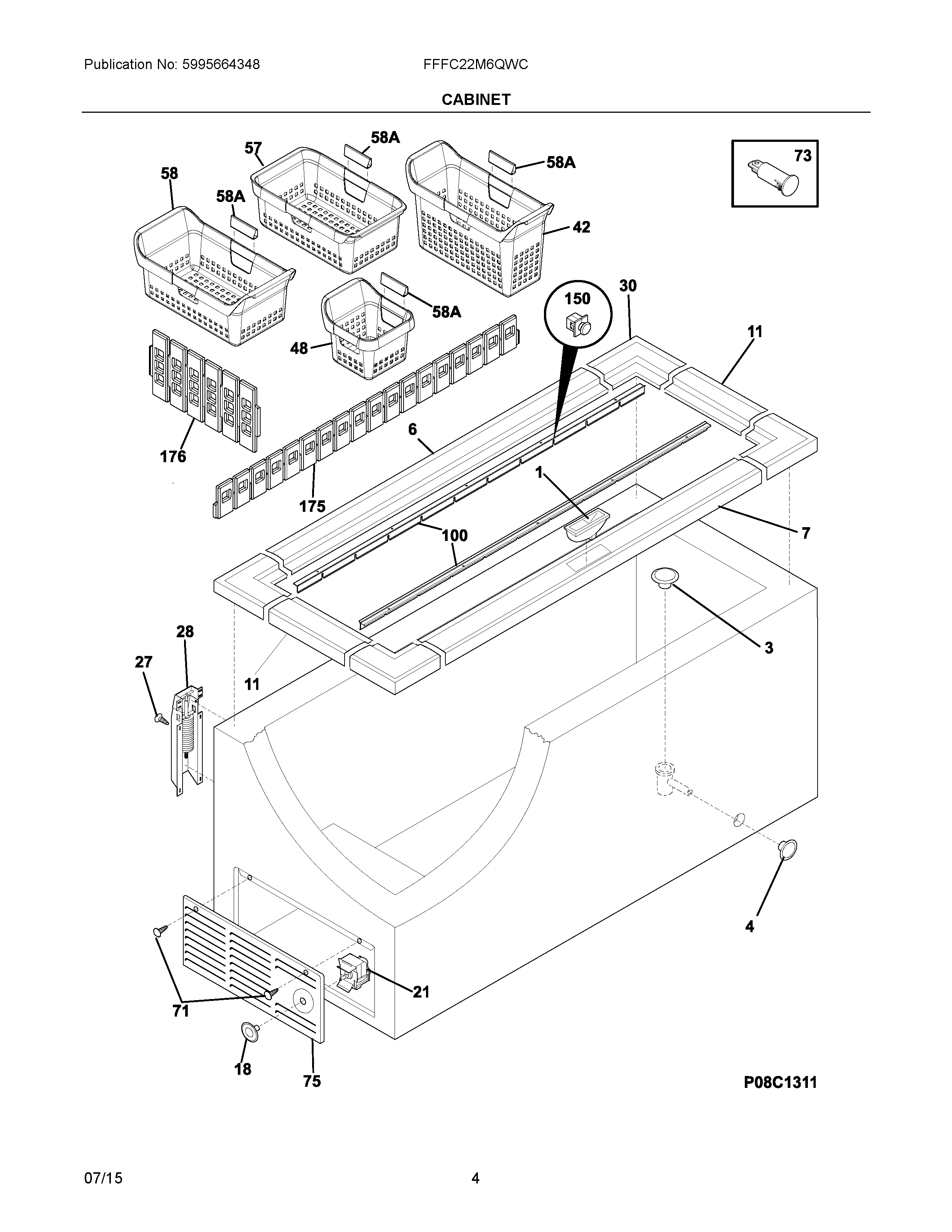
FFFC22M6QWC 03 – CABINET