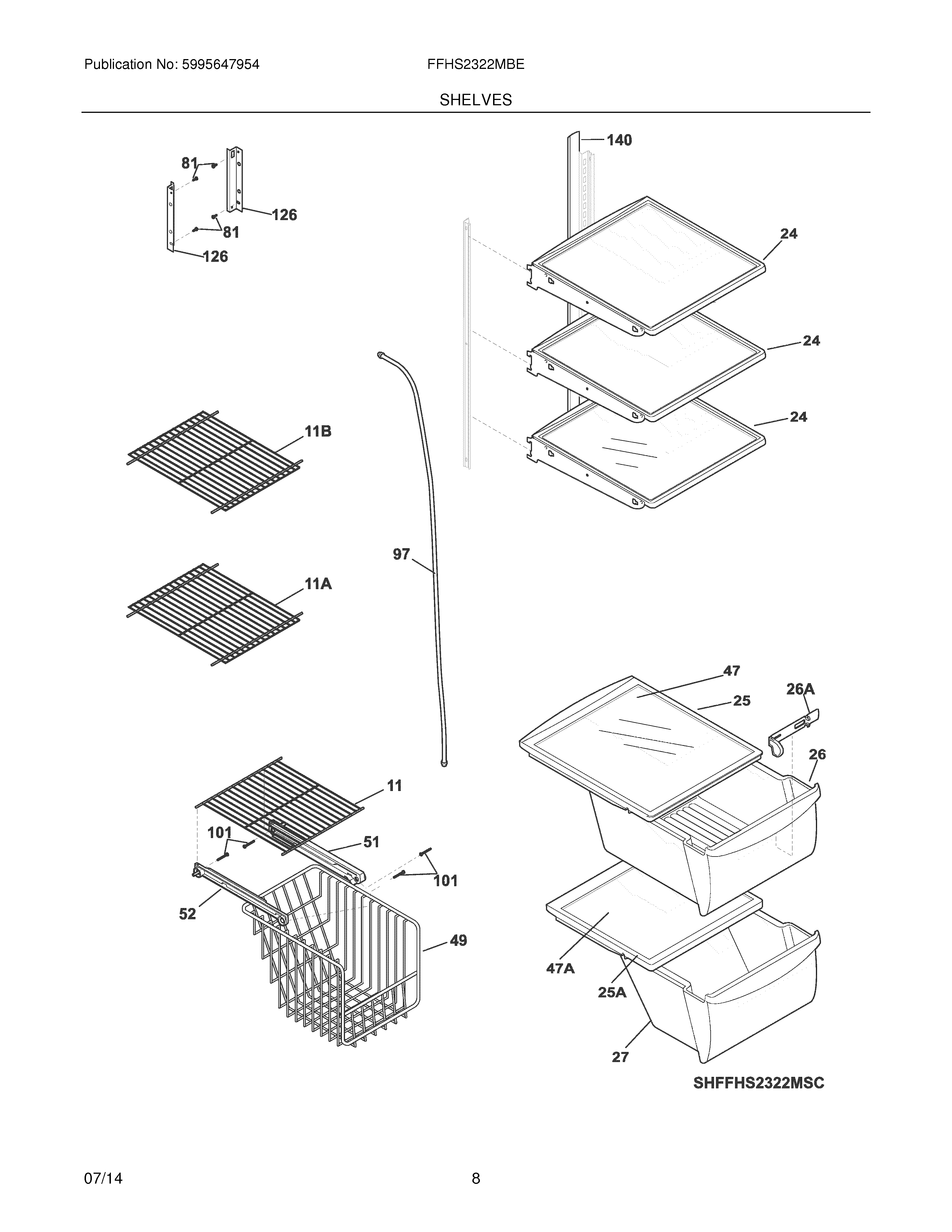
FFHS2322MBE 09 – SHELVES