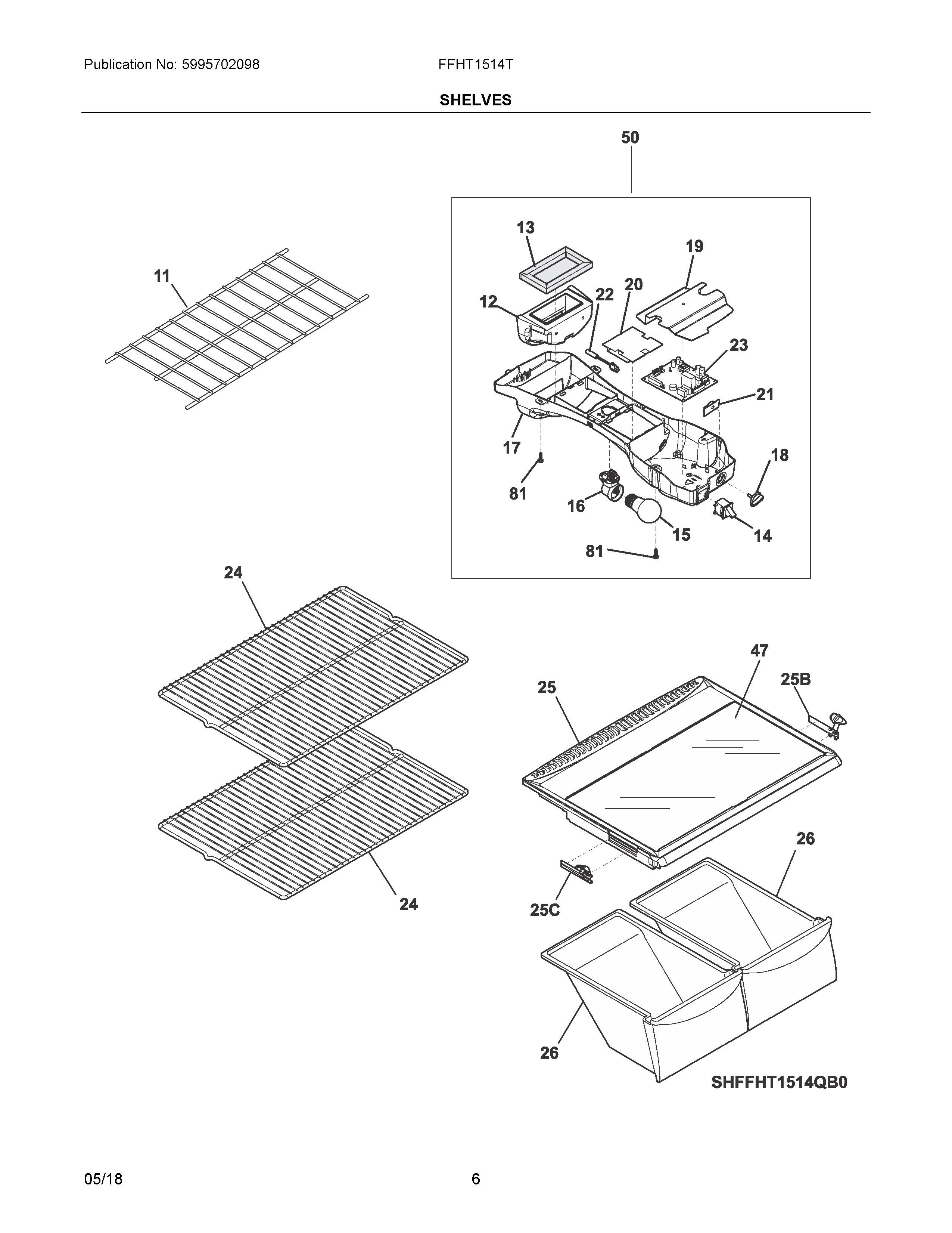
FFHT1514TB3 04 – SHELVES