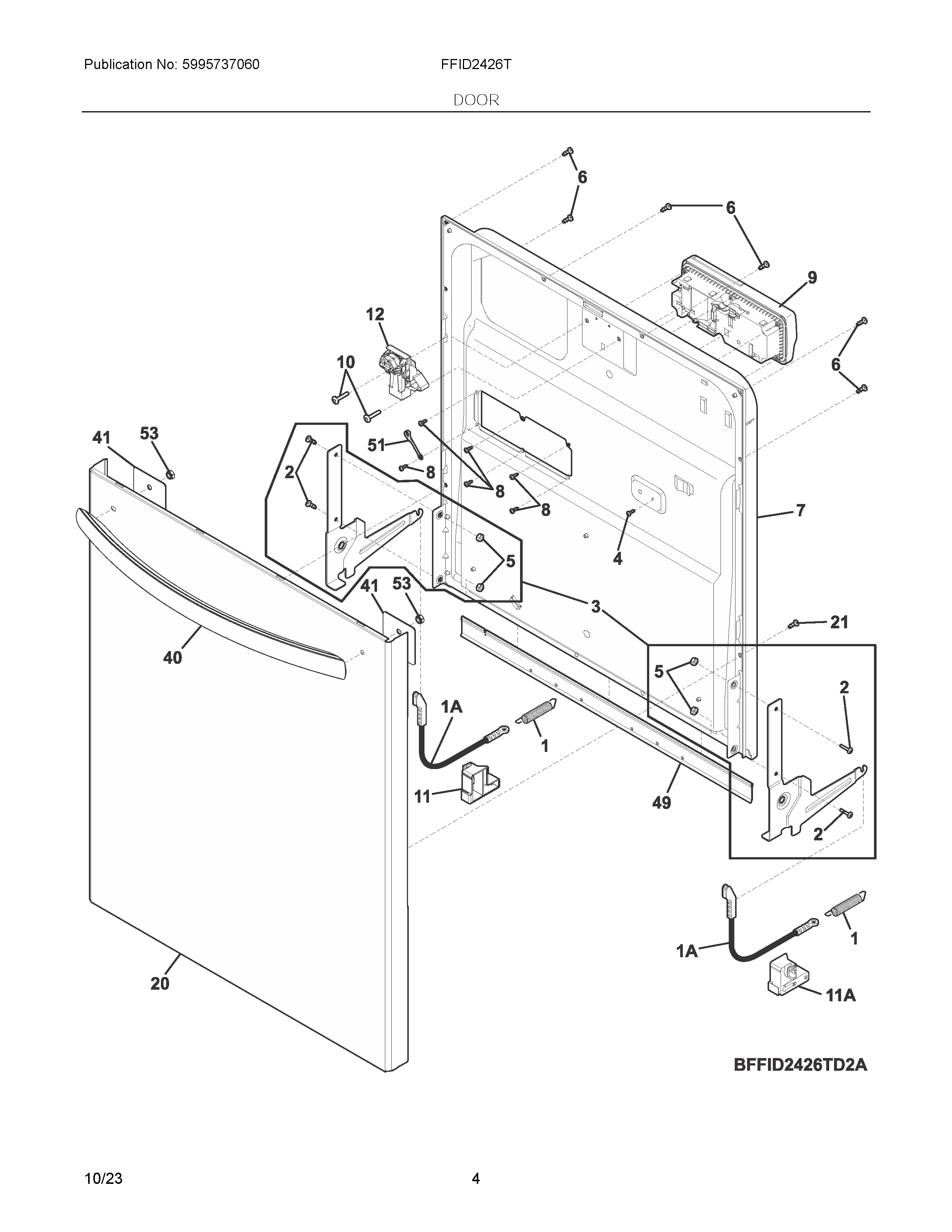
FFID2426TS6A 03 – DOOR