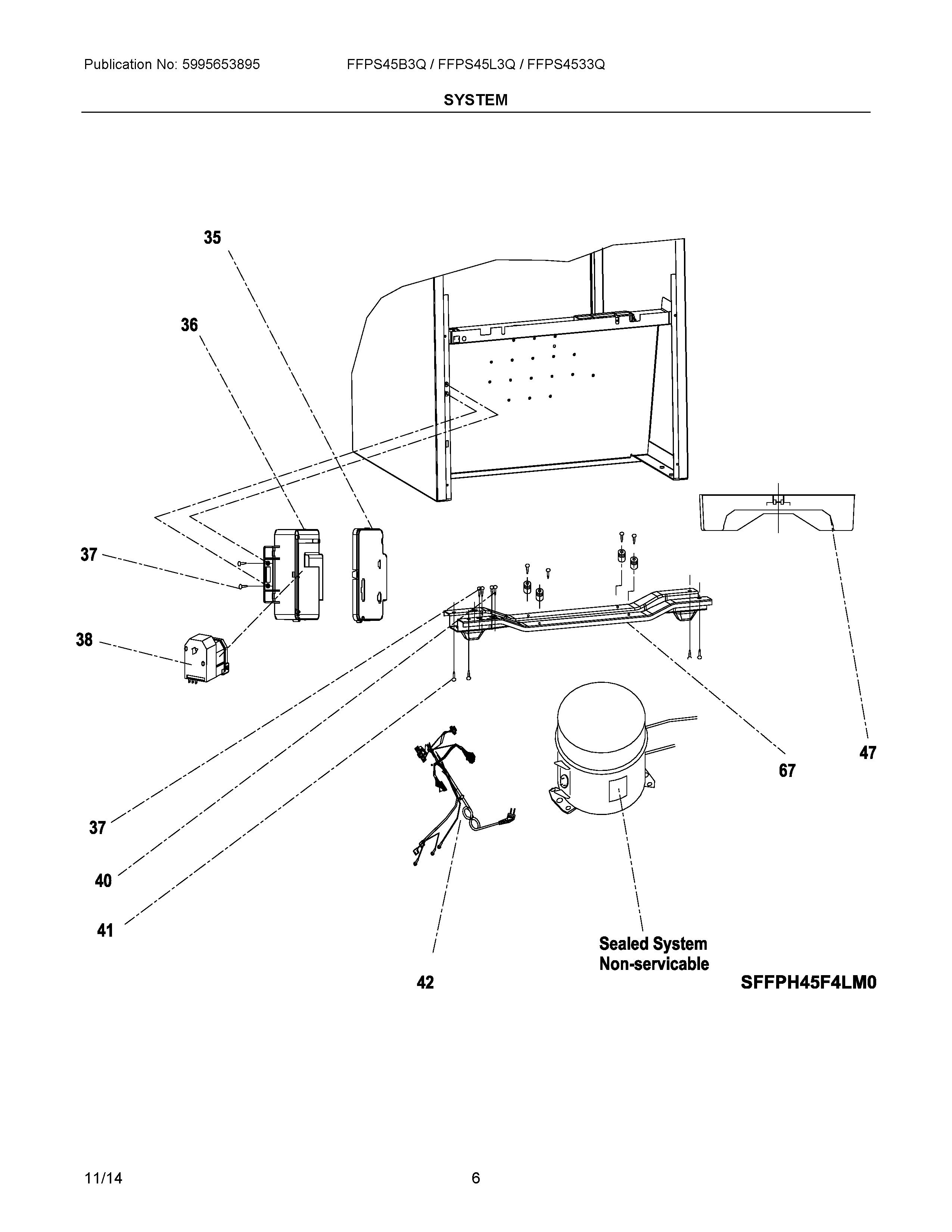
FFPS45B3QM0 04 – SYSTEMadmin2025-04-26T11:53:09+00:00FFPS45B3QM0 04 – SYSTEM ProductsPositionProduct35WCI 530449098236WCI 530449098137WCI 530449105238WCI 5304470332405304492671 Frigidaire Screw415304492672 Frigidaire Refrigerator M Screw425304490983 Frigidaire Refrigerator Power Cord47WCI 530449267367WCI 5304492674