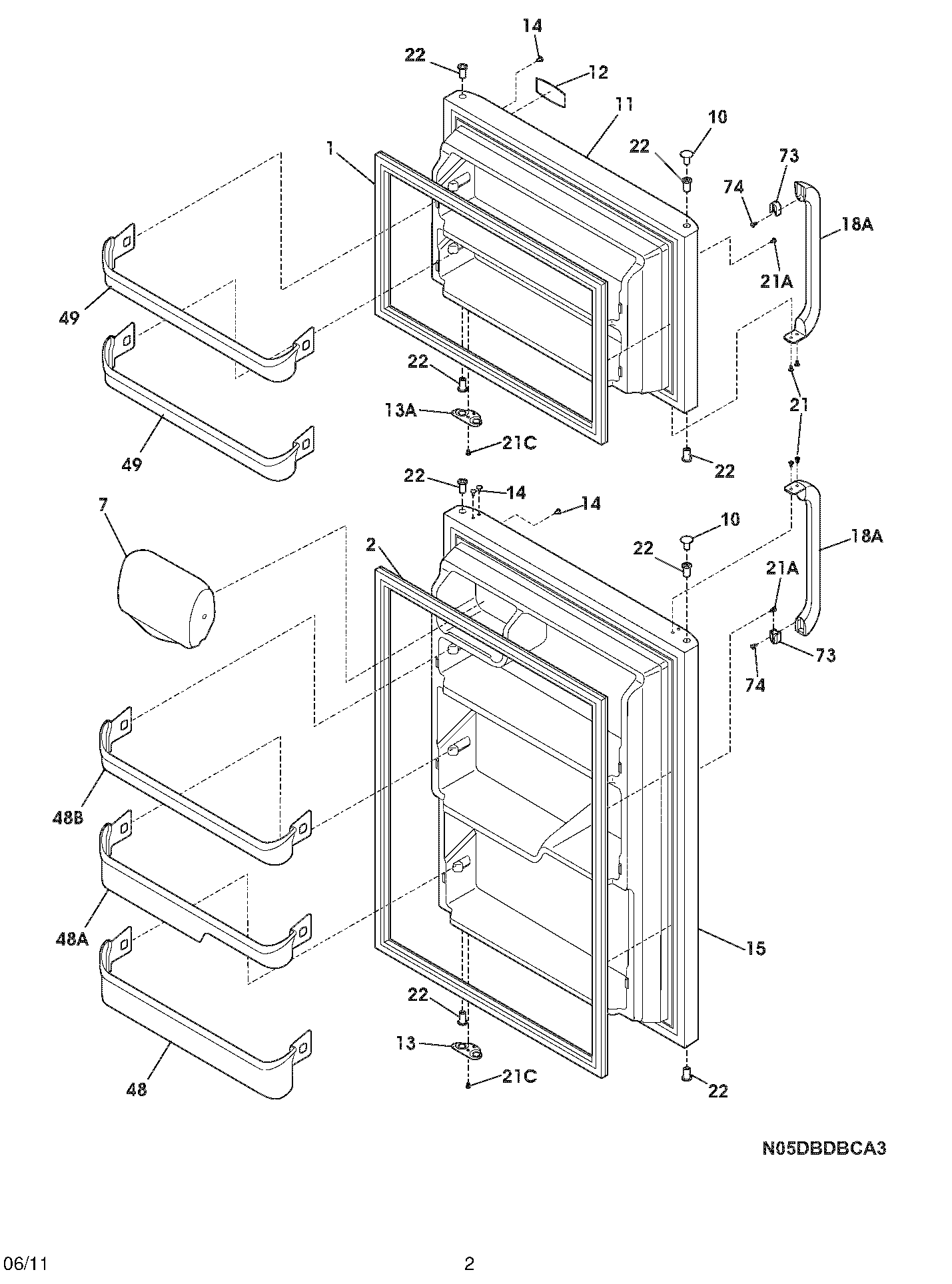
FFTR1715LB5 03 – DOORS